УДК 681.3.01 (Принцип обработки данных). Исключено E&C 18 [1996]
Рассматривается проблема обучения физике студентов-бакалавров направления подготовки «Теплоэнергетика и теплотехника» в техническом университете в связи с разноуровневой подготовкой абитуриентов при поступлении. Для решения проблемы предлагается использование инновационной методики преподавания курса физики: обучение по многоуровневой обучающей программе в зависимости от начальной школьной подготовки первокурсников. Модель построения курса в виде многоуровневой обучающей программы следующая: обучение на уровне элементарной физики, т. е. все разделы проходят без углубленного изучения (ОП-1), курс физики читается традиционным способом, согласно разработанной рабочей программе для данного направления, не прибегая к серьезным математическим расчетам (ОП-2), сокращенный курс физики с использованием элементов векторной алгебры, математического анализа и индивидуальных заданий (ОП-3). Обсуждается содержание и структура каждого из этих модулей. При разработке многоуровневой обучающей программы по физике рассматривается один из современных подходов формирования компетентностной модели обучения студентов-бакалавров, основанный на выполнении ими индивидуальных лабораторных заданий, т. к. усвоение любого физического явления начинается с эксперимента. Приводится пример формирования компетенции ОПК-3 при выполнении экспериментальных заданий, т. е. построения физической и математической моделей эксперимента, за счет часов, отведенных на самостоятельную работу. Под физической моделью эксперимента подразумевается осознание студентом физической теории, на основе которой создается представление о механизме исследуемого явления. Математическая модель эксперимента – это количественное описание явления, т. е. получение или проверка конечной формулы, вычерчивание схемы или графика, диаграммы и т. д. Выполнение экспериментальных заданий предполагается аудиторное, отчеты могут быть высланы на электронную почту преподавателя.
компетентностная модель обучения, многоуровневая обучающая программа, физическая модель эксперимента, математическая модель эксперимента, индивидуальные экспериментальные задания
Введение
Существует ряд причин, сдерживающих быстрое развитие российской промышленности в настоящее время. Одна из таких причин – нехватка компетентных кадров. Рабочие профессии уже в дефиците, но самое главное – не хватает высококвалифицированных инженеров. В будущем вероятно использование искусственного интеллекта, однако решать эту проблему необходимо уже сегодня. Подготовка кадровых ресурсов невозможна без целенаправленного и своевременного реформирования образования. В России уже запущен пилотный проект высшего образования: на смену бакалавриату приходит высшее образование. Предполагается не только отказ от старой терминологии, увеличение сроков обучения по программе высшего образования, но и улучшение качества образования: более глубокое изучение дисциплин, прежде всего технических, улучшение профессиональной подготовки. Ожидаются большие изменения в системе высшего образования, но так или иначе они будут связаны с новыми технологиями, методами и методиками преподавания.
Актуальность и материалы исследования
Развитие науки и технологий значительно увеличило объем знаний из области узкой специализации, которые студенты должны освоить в процессе профессиональной подготовки.
Хорошая профессиональная подготовка подразумевает принятие быстрого и верного инженерного решения в потоке ненужной информации, что невозможно, если инженер не владеет соответствующими техническими и технологическими навыками производства. Значит, его не научили в вузе использовать полученные базовые знаний и постоянно самостоятельно пополнять их. Вовлечение студентов в самостоятельную познавательную деятельность невозможно без логической и психологической организации обучения. Таким образом, важнейшей задачей естественнонаучной подготовки в техническом университете является, прежде всего, обучение студентов базовым дисциплинам, формирование у них научного мировоззрения и самостоятельного мышления [1, 2]. Одной из таких дисциплин является физика, однако абитуриенты технических университетов сдают ЕГЭ не по физике, а по информатике, рассчитывая на более высокий балл. Поэтому кафедры электротехнических дисциплин вузов вынуждены и должны использовать инновационные методики преподавания и методы обучения, подразумевающие изменение структуры и содержания курса физики с учетом разноуровневого контингента обучающихся. Каковы же пути решения этой задачи? Как осуществить дифференцированный подход в обучении?
Мы будем придерживаться последовательного изложения всех разделов физики, предлагая при этом многоуровневую обучающую программу (ОП). Первичное тестирование (проводится на первом практическом занятии) показывает уровень базовой подготовки первокурсников по физике. Анализ результатов: 25–30 % студентов не знают не только основные физические законы, постулаты, явления, но даже физические понятия; 45–50 % могут решить элементарные задания; 25 % (в лучшем случае) владеют материалом. К первой категории студентов относятся обучающиеся, которые, как правило, не сдавали ЕГЭ по физике, ко второй – студенты с проходным баллом по физике от 39 до 50 по результатам ЕГЭ. И только 25 % студентов достаточно подготовлены. Для всех студентов читается единый курс общей физики, но программ обучения – три (ОП-1, ОП-2, ОП-3) [3].
Чтобы строить изучение материала на элементарном уровне (ОП-1), затем повторно излагать его же, но на более глубоком уровне с использованием знаний высшей математики, требуется больше времени, поэтому элементарную физику как аксиоматическую науку оставляют на самостоятельное изучение за счет часов, отводимых на самостоятельную работу студентов. Отметим, что курс физики читается с первого семестра и дополнительных часов на прохождение школьной программы по физике не выделяется. Программы ОП-2 и ОП-3 подразумевают систематичность изложения с учетом индивидуальных особенностей аудитории [4]. Пытаясь сохранить контингент обучаемых, мы построили многоуровневые программы обучения ОП-2 и ОП-3, имеющие одинаковое количество кадров обучения, но разную плотность усвоения.
Следует различать понятия «кадр обучающей программы» и «шаг процесса усвоения». Так, величина одного шага процесса усвоения – это процесс усвоения элемента знаний, управление которым должно основываться на соответствующих психологических закономерностях мышления человека [5]. Значит, в каждом кадре ОП может быть один и более шагов процесса усвоения, что оказывает влияние на плотность ОП. Кроме того, плотность, исходя из сложности обучающей программы, будет различной для разных обучаемых, имеющих неодинаковый начальный уровень знаний по физике. Структура курса физики по семестрам представлена в виде четырех модулей, необходимых для реализации общепрофессиональной компетенции (ОПК-3), которой должен овладеть студент в результате освоения программы бакалавриата по данной дисциплине (рис. 1).
Например, модуль «Механика» (рис. 1) для ОП-2 и ОП-3 имеет разное наполнение (плотность) для направления подготовки бакалавров «Теплоэнергетика и теплотехника» по курсу физики:
1. ОП-2 имеет 14 кадров усвоения: кадр № 1 «Теоретический элемент. Элементы кинематики точки», кадр № 2 «Теоретический элемент. Элементы динамики точки и движения твердого тела»; кадр № 3 «Теоретический элемент. Элементы механики твердого тела (момент инерции, силы, импульса)»; кадр № 4 «Лабораторная работа. Вводное занятие. Определение плотности твердых тел правильной формы»; кадр № 5 «Решение задач по темам. Кинематика и динамика поступательного движения»; кадр № 6 «Решение задач по темам. Кинематика и динамика вращательного движения»; кадр № 7 «Лабораторная работа. Определение ускорения свободного падения при помощи оборотного маятника»; кадр № 8 «Теоретический элемент. Энергия, работа, мощность поступательного и вращательного движений тела»; кадр № 9 «Решение задач по темам. Работа, мощность и энергия»; кадр № 10 «Теоретический элемент. Законы сохранения в механике (импульса и энергии)»; кадр № 11 «Решение задач по темам. Законы сохранения»; кадр № 12 «Теоретический элемент. Элементы теории поля»; кадр № 13 «Теоретический элемент. Релятивистская механика»; кадр № 14 «Контрольный срез знаний».
2. ОП-3 имеет 10 кадров усвоения: кадр № 1 «Теоретический элемент. Элементы кинематики и динамики точки»; кадр № 2 «Лабораторная работа. Вводное занятие. Определение плотности твердых тел правильной формы»; кадр № 3 «Теоретический элемент. Уравнения равновесия твердого тела. Момент инерции, силы, импульса»; кадр № 4 «Решение задач по темам. Кинематика и динамика поступательного и вращательного движения»; кадр № 5 «Лабораторная работа. Определение ускорения свободного падения при помощи маятника Обербека»; кадр № 6 «Задания для самостоятельной работы студента на экспериментальной установке; кадр № 7 «Теоретический элемент. Динамика вращательного движения твердого тела: момент импульса, момент силы. Работа вращательного движения»; кадр № 8 «Задания для самостоятельной работы на экспериментальной установке»; кадр № 9 «Теоретический элемент. Кинетическая энергия тела, совершающего поступательное и вращательное движения. Релятивистская механика»; кадр № 10 «Контрольный срез знаний». Очевидно, что для усвоения курса физики по ОП-3 студенту требуется больше времени, но выполнение экспериментальных заданий вносит неоценимый вклад в развитие его индивидуального мышления.
Согласно ФГОС ВО по направлению подготовки бакалавриата, обучающийся должен овладеть общекультурными, общепрофессиональными и профессиональными компетенциями. Так, рабочая программа по дисциплине «Физика» направления подготовки «Теплоэнергетика и теплотехника» нацелена на освоение компетенции ОПК-3: применение соответствующего физико-математического аппарата, методов анализа и моделирования, теоретического и экспериментального исследования при решении профессиональных задач.
Рис. 1. Структура курса физики
Fig. 1. The structure of the physics course
Двухсеместровая программа курса физики включает перечень базовых физических знаний и экспериментов, достаточных для понимания фундаментальных естественнонаучных знаний и основных законов природы. Вуз не может дать студенту запас знаний на всю жизнь, но он должен дать ему опорные знания и умения, развивать его мышление, научить проводить инженерный анализ, используя технические и научные принципы и методы (анализ, синтез, моделирование), проводить теоретические и экспериментальные исследования с целью принятия решений, используя при этом соответствующий физико-математический аппарат, научить отбирать, осмысливать и использовать вновь полученные самостоятельно знания. Мы полагаем, что при формировании данной профессиональной компетенций экспериментальные задания могут способствовать развитию мыслительной и профессиональной деятельности студента, поэтому индивидуальные задания на лабораторных установках, разработанные нами для обучающихся по ОП-3 студентов, должны:
– раскрывать практическую значимость приобретенных физических знаний, необходимых в профессиональной деятельности инженера;
– способствовать прочному усвоению теоретических физических знаний, приемов и методов, являющихся основой профессиональной экспериментальной деятельности инженера;
– обеспечивать межпредметные связи курса физики с общепрофессиональными и специальными дисциплинами.
Безусловно, некоторые экспериментальные задания связаны с выполнением лабораторных работ, предусмотренных программой (ОП-2 и ОП-3), но мы предлагаем дополнительные индивидуальные экспериментальные задания для самостоятельного выполнения по различным разделам (модулям) курса при работе студентов по ОП-3. Уровень этих заданий сравним с олимпиадными заданиями экспериментального тура для студентов бакалавров.
Примеры заданий
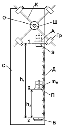
Пример 1. Дано оборудование: модульный учебный комплекс МУК-М1 для изучения законов вращательного движения (экспериментальная установка); блок – секундомер электронный СЭ1; блок механический БМ1 (рис. 2).
Рис. 2. Модульный учебный комплекс
для изучения законов вращательного движения
Fig. 2. Modular training complex for studying the laws
of rotational motion
Известны физические величины системы, состоящей из шкива (Ш), крестовины (К) и грузов (Э): mподставки = 42,5 ± 0,5 г; mгруза1 = 30,5 ± 0,2 г; mгруза2 = = 20,5 ± 5 г; mстержня = 126,5 ± 0,5 г; mгруза на спице = = 63 ± 1 г; mспицы = 46,0 ± 0,5 г; m шкива = 380 ± 1 г; dмал. шкива = 30,0 ± 0,1 мм; dбол. шкива = 45,0 ± 0,1 мм.
Выполнить задание:
1. Построить физическую модель задания: экспериментально определить момент инерции системы четырех цилиндров, симметрично расположенных относительно оси вращения, используя узел «маятник Обербека» в модульном учебном комплексе МУК-М1.
2. Построить математическую модель исследования: вывести расчетную формулу
для определения моментов инерции грузов (подвижных цилиндров).
Указания: взять h1 = 0,5 м.
Возможное решение студента.
Построение физической модели задания:
1. Вращая маятник рукой, намотать нить на шкив большего или малого диаметра d, чтобы груз m достиг выбранного положения h1 (рис. 2). Нажать кнопку «Пуск». При этом отключится тормозное устройство, удерживающее маятник, и включится секундомер.
2. Зафиксировать положение, когда груз достигнет положения h2 (рис. 3).
Рис. 3. Схема для расчета момента инерции системы
Fig. 3. Scheme for calculating the moment
of inertia of the system
Построение математической модели задания:
1. В начальном положении 1 исследуемая система обладает потенциальной энергией W1 = mgh1. Переходя в положение 2, учитывая кинетические энергии вращения шкива и движение груза, получаем:
(рис. 3).
2. Груз, ударившись о подставку, по инерции переходит в положение 3, теряя высоту, но приобретая потенциальную энергию W3 = mgh2 (рис. 3).
3. Так как Fтр ¹ 0, то момент силы трения Мтр ¹ const, поэтому получим:
W2 – W1 = Мтрφ1; (1)
W3 – W2 = Мтрφ2, (2)
где φ1 = 2pφN1 = 2h1 / d; φ2 = 2pφN2 = 2h2 / d.
Сложив выражения (1) и (2), получим:
–mgh1 – mgh2 =
(h1 – h2),
отсюда
. Так как груз движется равноускоренно между положениями 1 и 2, то для расчета пути и скорости поступательного движения груза можно применить формулы v = at; h = at2 / 2. Получаем расчетную формулу
Итак, для расчета момента инерции подвижных цилиндров I необходимо из известных физических величин взять массу m, состоящую из m подставки и m груза, диаметр шкива d (малого или большого), экспериментально определить время падения груза t, высоты h1 и h2.
Пример 2. Дано оборудование: лабораторный комплекс ЛКТ-2 (рис. 4).
Выполнить задание:
1. Построить физическую модель задания: экспериментально проверить закон Бойля – Мариотта.
2. Построить математическую модель исследования: вывести расчетную формулу
для определения смеси газов.
Рис. 4. Общий вид установки ЛКТ-2
Fig. 4. General view of the LKT-2 installation
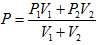
Указания: взять баллон V1 = 1,04 л; баллон V2 = 2,08 л; давление Р1 должно быть в пределах 120–200 мм рт. ст.
Возможное решение студента.
Построение физической модели задания: с помощью трубок подключить к разветвителю манометра (точка 3) баллон Б1, кран К1 в точке 6 и кран К2 в точке 8 (рис. 5).

Рис. 5. Подключение трубок к разветвителю манометра
Fig. 5. Connecting the tubes to the pressure gauge splitter
- Перекрыть кран К2 поворотом клапана по часовой стрелке до упора, заглушить незадействованный выход на распределителе манометра с помощью заглушки (точка 3 на рис. 5).
- С помощью трубки к крану К1 в точке 5 (рис. 6) подключить выход компрессора от баллона К.
Рис. 6. Подключение компрессора и баллона Б1 (V1 = 1,04 л)
Fig. 6. Connection of compressor and cylinder Б1 (V1 = 1.04 l)
- Понизить до минимума питание компрессора поворотом цилиндрического регулятора 4.1 (рис. 7) против часовой стрелки до упора. Включить компрессор 4, подняв вверх тумблер «ВКЛ» 4.2. Плавным поворотом цилиндрического регулятора по часовой стрелке увеличить питание компрессора до необходимого уровня, чтобы накачать в баллон Б1 воздух до давления Р1, равного 120–200 мм рт. ст. Выключить компрессор по достижении необходимого давления, опустив вниз тумблер «ВКЛ» 4.2, и поворотом цилиндрического регулятора 4.1 против часовой стрелки снизить питание компрессора до минимума.
- Закрыть кран К1. Присоединить трубку к крану К2 в точке 7 (рис. 8) и баллон Б2, открыть клапан К2 путем поворота клапана против часовой стрелки.
- Подождать, пока стрелка манометра остановится, и зарегистрировать значение давления Р, экспериментальное во втором баллоне объемом V2. Учесть, что изначально во втором баллоне Б2 было атмосферное давление Р02 = Pатм.
- Используя полученные данные в ходе эксперимента, с помощью расчетной формулы получить давление газа во 2-м сосуде:
сравнить его с Р2 эксп.
Рис. 7. Подключение компрессора к сети
Fig. 7. Connecting the compressor to the mains

Рис. 8. Соединение клапана К2 с баллоном Б2 (V2 = 2,08 л)
Fig. 8. Connection of valve К2 with cylinder Б2 (V2 = 2.08 l)
Построение математической модели задания:
- Вывод расчетной формулы: используя уравнение Менделеева – Клапейрона для газа в 1-м сосуде (после работы компрессора), можно записать:
Р1V1 = v1RT, (3)
для газа во 2-м сосуде (до открытия клапана К2):
Р02V2 = v2RT. (4)
- После того, как клапан К2 открыли, давление газа во 2-м баллоне объемом V2 стало равным Р2. Его можно определить по формуле
Р2(V1 + V2) = (v1 + v2)RT. (5)
Складывая уравнения (3) и (4) и сравнивая с (5), получаем расчетную формулу
.
Пример 3. Дано оборудование: лабораторный комплекс «Электричество и магнетизм 1» (рис. 9) с инструкцией.
Выполнить задание:
1. Построить физическую модель задания: описать включение установки, используя интерфейс программы, способ зарядки и разрядки конденсатора.
2. Построить математическую модель исследования: измерить емкость конденсаторов с помощью мультиметров и сравнить
Указания: взять Сэ = 1 мкф; Uэ = 1,55 В.
Рис. 9. Лабораторный комплекс «Электричество и магнетизм 1»
Fig. 9. Laboratory complex “Electricity and magnetism 1”
Возможное решение студента.
Построение физической модели задания:
- Собрать электрическую цепь, приведенную на рис. 9 [6, 7].
- Используя инструкцию к установке, кнопками «Сеть» и «Исходная установка» подготовить блоки генераторов напряжения и мультиметров к работе.
- Виртуальные приборы на компьютере включить через блок «Приборы I», в котором содержатся вольтметры и амперметры (рис. 10), и активировать их через окна на кнопках «Откл».
- Выбрать в открывшемся перечне нужные приборы (V1 и V2) для одновременного измерения действующего значения напряжения.
- Пpедeлы измерения вольтметров установить кнопками «Входы для измерения напряжения» (цифра 2) на блоке измерения (рис. 11). Выбранные пределы отображаются автоматически в соответствующих окнах виртуальных приборов.
- Способ зарядки конденсатора:
– установить демпфирующий ключ 5 в положение «Сброс», а тумблер (переключатель 2) в положение «А» (см. рис. 9);
– напряжение зарядки конденсатора определяем по мультиметру V2 (рис. 11), устанавливая не более 2 В (по инструкции). Если при этом загорится индикатор перегрузки у интегратора тока, уменьшите напряжение зарядки конденсаторов.
7. Способ разрядки заряженного конденсатора:
– разомкнуть демпфирующий ключ 5, а переключатель 2 перевести в положение «В»;
– напряжение разрядки конденсатора определяем по показаниям мультиметра V1 (см. рис. 10).
Построение математической модели задания:
1. Измерьте емкость конденсаторов с помощью мультиметров:
– дождаться разрядки конденсатора (10–20 с);
– убрать конденсаторы из разборного поля;
– подключить конденсатор при помощи специального переходника с «крокодилами» к гнезду для измерения емкости и установить режим работы мультиметра в область 3 и наминал 2µF;
– сравнить
;
– измерьте таким же способом емкости конденсаторов при последовательном и параллельном соединениях конденсатора.
2. Выключить кнопками «Сеть» питание блока генераторов напряжения и блока мультиметров.

Рис. 10. Блок «Приборы I»
Fig. 10. The “Devices I” block

Рис. 11. Блок измерения: 1 – вольтметр 1, вольтметр 2; 2 – виртуальные измерительные приборы вольтметры V1, V2;
3 – амперметр 1, амперметр 2; 4 – виртуальные измерительные приборы амперметры А1, А2;
5 – выключатель питания; 6 – разъем USB для подключения к компьютеру; 7 – разъем для подключения термопары;
8 – гнездо заземления
Fig. 11. Measuring unit: 1 – voltmeter 1, voltmeter 2; 2 – virtual measuring instruments voltmeters V1, V2;
3 – ammeter 1, ammeter 2; 4 – virtual measuring instruments ammeters A1, A2; 5 – power switch;
6 – USB connector for connecting to a computer; 7 – connector for connecting a thermocouple; 8 – grounding socket
3. Вычислить емкости при последовательном и параллельном соединении конденсаторов по формулам
. Сравнить их с измеренными и сделать вывод.
Пример 4. Дано оборудование: лабораторный комплекс «Электричество и магнетизм 2» (рис. 12, 13).
Рис. 12. Электрическая цепь 1
Fig. 12. Electrical circuit 1
Рис. 13. Электрическая цепь 2
Fig. 13. Electrical circuit 2
Выполнить задание:
1. Построить физическую модель задания: на стенде «Электричество и магнетизм 2» собрать электрическую цепь по схеме (рис. 14).
2. Построить математическую модель задания: используя данные мультиметров, рассчитать коэффициент трансформации на обмотках трансформатора в режиме холостого хода.
Рис. 14. Схема электрической цепи работы трансформатора в режиме холостого хода:
1–2 – гнезда первичной обмотки трансформатора, подключенные к мультиметру U1;
3–4 – гнезда вторичной обмотки трансформатора, подключенные к мультиметру U2;
4–5 – гнезда вторичной обмотки трансформатора, подключенные к мультиметру U3
Fig. 14. Diagram of the electrical circuit of the transformer in idle mode:
1-2 – sockets of the primary winding of the transformer connected to the multimeter U1;
3-4 – sockets of the transformer secondary winding connected to the multimeter U2;
4-5 – sockets of the transformer secondary winding connected to the multimeter U3
Возможное решение студента.
Построение физической модели задания:
- Используя схему (рис. 14), собрать две электрические цепи на стенде «Электричество и магнетизм».
- Подключить мультиметр 2 ко вторичной обмотке трансформатора (гнезда 3, 4), записать напряжение U2 (рис. 12).
- Подключить мультиметр 2 ко вторичной обмотке трансформатора (гнезда 4, 5), измерить и записать напряжение U2 (рис. 13).
Построить математическую модель задания: используя данные (см. рис. 12, 13), рассчитать коэффициент трансформации: K1 = U1 / U2 и K1 = U1 / U3.
Заключение
Обучение студентов согласно многоуровневой программе даст возможность «слабым» студентам освоить курс физики на уровне достаточных знаний, умений и навыков, чтобы в дальнейшем осваивать самостоятельно тот материал, который им будет необходим для работы; у «сильных» студентов появится возможность творчески осмысливать материал курса физики, используя полученные знания для докладов, решения олимпиадных заданий. Применение разработанных материалов в процессе обучения позволит сформировать необходимое для инженера научное мировоззрение и подготовить их к профессиональной деятельности.
1. Бражников М. А., Пурышева Н. С. Самообразование и становление дистанционного обучения физике в России // Физ. образование в вузах. 2017. Т. 23. № 2. С. 34–50.
2. Лапаник О. Ф., Слабженникова И. М. Особенности организации учебного процесса по дисциплине “Физика” в техническом университете на современном этапе // Физ. образование в вузах. 2018. Т. 24. № 3. С. 12–22.
3. Быкова В. П. Многоуровневая обучающая программа по физике как средство организации самостоятельной работы студентов в интернациональной группе: автореф. дис. … канд. пед. наук. М., 1997. 16 с.
4. Быкова В. П. Межпредметные связи курса физики и дисциплин профессионального цикла для профиля «Кораб-лестроение» // Вестн. Астрахан. гос. техн. ун-та. Сер.: Морская техника и технология. 2012. № 2. С. 109–115.
5. Матюшкин А. М. Проблемные ситуации в мышлении и обучении. М.: Педагогика, 1972. 207 с.
6. Быкова В. П. Профессиональная направленность обучения студентов технического вуза в рамках спецкурса по физике // Вестн. Астрахан. гос. техн. ун-та. Сер.: Морская техника и технология. 2023. № 3. С. 114–125.
7. Бородянко В. Н. Электрические цепи и основы электроники: методические указания к проведению лаборатор-ных работ на стенде Э4. Челябинск: Учтех-Профи, 2016. 97 с.



