Russian Federation
The article discusses the importance of accurately determining the water content in oil for efficient development of oil fields. Dynamic processes of emulsion formation in wells and their effect on physical properties are discussed. It is mentioned that traditional sampling methods do not always meet modern requirements due to high error, especially with significant water cut. In this regard, the need to develop new technologies for more reliable determination of moisture content in oil flows directly at the production site is emphasized. Problems arising during the operation of flow moisture meters are discussed, and the need to obtain reliable data on the water content in oil is emphasized. The study describes the possibility of using the photometric method for non-destructive testing of water cut in oil emulsions. A technique for measuring water cut using photometry is described, problems affecting the accuracy of measurements are discussed. The design of the measuring section, which is a parallel pipeline in which radiation sources and receivers are located, is determined. It was decided to manufacture the measuring section in the factory and deliver it in the form of clip joints due to its small dimensions for small diameter pipelines. Clip joint has a lower metal consumption value and is easy to install. The design dimensions of clip joints have been determined with an estimated pipeline diameter of 250 mm and a wall thickness of 3 mm. Clip joints have been tested for strength. The analyzer is mounted to the pipeline with a fixed fitting using a boss and protective sleeves. Various levels of the system, as well as the installation of sensors, are considered. Recommendations are given on the optimal distance between the source and receiver to achieve high accuracy of water cut analysis over the entire water cut range.
oil and oil products, water cut, optical method
Введение
Достоверная информация о содержании нефти и воды в продукции скважины важна для оценки эффективности разработки пласта, эксплуатации скважины, принятия решений о работе с призабойной зоной и оценки новых технологий. Эмульсии в скважинах динамичны из-за процессов диспергирования и коалесценции. Физические свойства эмульсии зависят от образования и прочности их оболочек.
В современной нефтедобывающей отрасли прогнозирование дебита нефти и обводненности является критически важной задачей для эффективной эксплуатации нефтяных месторождений. Традиционные методы прогнозирования, основанные на методах отбора проб, уже не всегда соответствуют потребностям рынка из-за их недостаточной точности при высокой обводненности, что является ключевой особенностью данной области. Кроме того, метод отбора ручных проб имеет большую погрешность. Для лабораторных методов характерна удаленность лаборатории от места отбора проб [1]. В связи с этим возникает необходимость разработки новых методов и технологий, способных обеспечить более точное и надежное определение влагосодержания в газожидкостных потоках непосредственно на месте добычи или транспортном трубопроводе.
Методы определения обводненности нефтяного потока
Согласно классификации [2], различают качественные (проба Клиффорда, на прозрачность, на потрескивание) и количественные методы определения воды в нефти и нефтепродуктах. Последние делятся на периодические (лабораторные) и непрерывные (поточные).
Классификация методов определения обводненности по методу работы представлена на рис. 1.

Рис. 1. Общая классификация методов определения обводненности
Fig. 1. General classification of methods for determining waterlogging
Непрерывные влагомеры – технологически сложные приборы, имеющие определенную область использования, преимущества и недостатки, а также различный диапазон измерения влагосодержания
и метрологические характеристики. Диэлькометрический метод показывает хороший результат при низко- и среднеобводненной эмульсии. Однако при увеличении обводненности до 70 % и более наблюдается инверсия фаз, в связи с чем погрешность увеличивается пропорционально количеству воды в эмульсии. Главный недостаток СВЧ-метода – высокая стоимость, погрешность при высокой степени обводненности из-за возможности пробоя, а также присутствие дополнительной погрешности из-за инверсии фаз. Оптические методы могут работать как при низкой обводненности, так и при высокой. Источник излучения, проходя через поток и поступая на матрицу, выдает результаты с низким процентом погрешности [3]. Использование радиометрического метода для поставленных целей возможно, но он мало распространен из-за сложности работы, высокой погрешности и стоимости. Аналогичные ограничения и недостатки имеет метод ядерного магнитного резонанса (ЯМР). Таким образом, практически отсутствуют анализаторы концентрации воды и нефти на весь диапазон 0–100 %.
В процессе эксплуатации поточных влагомеров даже при условии обеспечения требуемой точности возникают трудности, например обеспечение изокинетичности потока. При измерении в потоке необходимо гомогенизировать поток пассивными или активными смесителями (гомогенизаторами). Образуются струи, скорость которых может в десятки раз превышать среднюю скорость потока
и, как следствие, возникает высокая турбулентность потока. Она неустойчива и сохраняется лишь на некотором расстоянии после смесителя. Поток начинает расслаиваться, и появляется пульсирующая разность скоростей газовой и жидкой фаз, что затрудняет измерение. В целях качественной регистрации изменения содержания воды пробы отбираются достаточно часто.
Таким образом, для достижения полной представительности пробоотбора сырой нефти необходимо обеспечить однородность компонентов в трубопроводе, отбирать образцы из вертикального потока, соблюдать условие изокинетичности и производить частый отбор из-за изменчивости содержания воды.
По данным исследований [4], пробоотбор может быть проведен с помощью байпасов, однако при высокой обводненности воднонефтяной эмульсии погрешность изменения превосходит 3,5 %.
Проведен патентный поиск по конструкциям водонефтяных поточных анализаторов и способам контроля обводненности (патенты РФ № 2756414 от 30.09.2021, № 2669156 от 10.08.2019, № 118757 от 27.07.2012, № 2610941 от 17.02.2017, № 57466 от 10.10.2006, № 2199731 от 27.02.2003, № 2704034 от 23.10.2019 [5–11]). Ограничительные признаки изобретений имеют схожие детали, например: наличие корпуса, где размещены узел области источника излучения и приемный узел; для получения точных данных измеряемый поток «отделяют» от основного (так называемый щелевой канал); наличие блока регистрации данных; воздействие излучения на нефть перпендикулярно направлению ее движения. Отличительные признаки каждого изобретения разнятся от вида излучения и устройства датчиков до схемы установки блоков, что свидетельствует об их индивидуальности. Современные влагомеры используют датчики температуры и давления для ком-
пенсации погрешностей, вызванных изменением плотности и давления при измерении влагосодержания жидкости. Это помогает уменьшить дополнительные ошибки измерений, сравнимые с самой погрешностью метода.
Общие требования к поточным системам включают:
– диапазон размеров частиц – 0,01–100 мкм;
– возможность определения среднего размера и характера распределения частиц с параметрами (мода, дисперсия, коэффициент асимметрии);
– погрешность определения параметров распределения частиц – не более 10 %;
– неразрушающий контроль без прерывания технологического процесса;
– градуирование по типу используемой жидкостно-дисперсной системы [12].
Применение оптического метода в видимой области при неразрушающем контроле обводненности
В лабораторных условиях были проведены экспериментальные исследования возможности использования фотометрического метода контроля обводненности проб нефтяных эмульсий для легкой нефти месторождения им. Ю. Корчагина [13]. Этот метод является одним из наиболее распространенных и точных способов определения обводненности в лабораторных условиях.
Процедура измерения обводненности с использованием фотометрии обычно включает следующие шаги:
1) подготовка образца: получение устойчивой нефтяной эмульсии;
2) измерение оптической плотности: эмульсия помещается в кювету фотометра, который излучает свет определенной длины волны через образец. Фотометр измеряет количество света, прошедшего через образец, и определяет оптическую плотность смеси;
3) сравнение с эталоном: полученное значение оптической плотности сравнивается с эталонными значениями для различных уровней обводненности, на основе которого определяется процентное содержание воды в эмульсии.
После процедуры измерения было определено, что погрешность спектрофотометрического метода в лабораторных условиях составляет при выбранных значениях влияющих параметров (длины волны, толщины оптического слоя, обводненности эмульсии) 4,7 %, что согласуется c ранними исследованиями других авторов [14]. Эксперименты проводились с целью оценки возможности использования спектрофотометрического метода в устройствах неразрушающего контроля потока водонефтяной эмульсии.
При соблюдении закона Бугера – Ламберта – Бера оптическая плотность зависит линейно от концентрации. Однако отклонения от этого закона могут быть вызваны физическими и химическими причинами. Например, измерения нефти с высокой оптической плотностью и низким содержанием воды затруднены из-за погрешностей, связанных с загрязнением поверхности и неравномерным распределением влаги. Водонефтяные эмульсии с их дисперсностью капель также создают проблемы при измерениях. Другие причины включают нелинейный отклик фотоприемника, его засветку рассеянным светом и отражение света от поверхности раствора из-за различий в показателях преломления. Эти факторы могут вызывать нарушения закона Бугера – Ламберта – Бера, но их влияние на результаты измерений обычно незначительны из-за их малых величин [15]. При проведении собственных экспериментальных исследований с образцами высокообводненных эмульсий легких нефтей были отмечены сложности: при применении оптического метода учитываются эффекты рассеяния, необходимая мощность источника излучения, а также диапазон обводнения.
В связи с этим необходима такая конструкция влагомера, которая могла бы работать в потоке во всем диапазоне.
Для решения обнаруженных проблем предлагаются следующие приемы:
1) при критических значениях рассеяния метод может давать некорректные результаты, поэтому сокращение оптического пути между источником света и детектором поможет расширить диапазон измерений;
2) для определения обводненности в потоке необходимо наличие надежной и износостойкой проточной кюветы;
3) схема определения должна быть проста в использовании и установке;
4) при обработке результатов измерений следует применять современные алгоритмы, учитывающие характеристики течений в измерительном блоке.
Уменьшение длины оптического пути можно достичь использованием специальных кювет определенных конструкций. Создание кюветы проточного типа связано с необходимостью избежать ее извлечения для каждого анализа, что требует заполнения пробы, мытья и протирки оптических поверхностей. Сложные и дорогостоящие конструкции кювет могут быть заменены более простыми призматическими формами, сокращая оптический путь за счет приближения плоскопараллельных поверхностей. Это позволит создать квази-2D-турбулентное струйное течение в кювете. Ограничивающие поверхности вызывают появление различных вихрей, влияющих на точность измерений. При ее проектировании важно учитывать характеристики течений в узких каналах и компенсировать ошибки измерений при обработке результатов [16].
Для получения достоверных результатов необходимо оптические измерения производить в нескольких сечениях потока с использованием не менее двух источников излучения. Это дает огромный массив данных, предназначенных для обработки. Прогресс в развитии компьютерной техники позволяет разрабатывать и совершенствовать методы обработки с сохранением приемлемого для исследователей времени расчета. Одним из таких методов является метод цифровой трассерной визуализации, который в англоязычной литературе называется particle image velocimetry (PIV). Алгоритмы обработки данных методом цифровой трассерной визуализации предложены, например, в [17].
При условии выполнения описанных выше рекомендаций фотометрический метод может быть применен и для определения обводненности водонефтяной эмульсии, движущейся в потоке, которое может быть основано на измерении светопоглощения в предельно узкой области спектра, отвечающей максимуму поглощения анализируемой эмульсии.
В состав схемы спектрального анализатора входят источник непрерывного излучения, узел исследуемого материала (щелевой канал), спектральный узел (датчик приема конечного излучения, прошедшего через щелевой канал), система регистрации (для фиксации уровня светового излучения) и расчетного блока (определение влагосодержания водонефтяной эмульсии по количеству поглощенного света). При этом алгоритм обработки результатов измерений содержит корреляцию между оптической плотностью эмульсии и значением ее обводненности.
Описание разработанного технического решения
На основании проведенного анализа патентной литературы и экспериментальных исследований, разработан способ определения обводненности на основе оптического датчика. Схема устройства представлена на рис. 2.

Рис. 2. Принципиальная схема работы анализатора
Fig. 2. Schematic diagram of the analyzer operation
Анализатор, представленный на рис. 2, включает щелевой канал 1 с расположенными на нем источниками 4–6, сигнал от монохроматического пучка поступает на приемники 7–9. В качестве холостого хода (по принципу спектрофотометра) используется источник и приемник 10 и 11 соответственно. Для создания источника излучения используется генератор 2. Задающий генератор создает монохроматический свет путем стимулированного излучения. Атомы или молекулы активной среды в диоде стимулируются фотонами, что приводит к излучению света с определенной длиной волны и фазой. После генератора излучения на схеме расположен коммутатор 3, который используется для изменения сгенерированного сигнала или манипулирования им. Коммутатор может выполнять различные функции, такие как: модуляция сигнала, фильтрация шумов, усиление сигнала, изменение частоты и т. д. В общем, коммутатор позволяет настраивать и управлять параметрами сигнала в соответствии с требованиями конкретного приложения или устройства.
Выходы коммутатора соединены с холостым источником излучения 10 и источниками 4–6. Все полученные сигналы от приемников излучения поступают в сумматор 12, который используется для комбинирования сигналов, полученных от нескольких приемников. Данный процесс позволяет увеличить разрешение и чувствительность сигнала за счет совмещения данных с различных точек анализа. С помощью сумматора возможно получение более точных показаний оптической плотности в разных сечениях нефтепровода.
Далее сумматор подключен к первичному блоку обработки сигнала (закодированного) 13 и расчетному блоку 14, в нем происходит дешифровка данных первичного блока и определение обводненности эмульсии по закону Бугера – Ламберта – Бера по средним значениям оптической плотности разных сечений трубопровода.
Исходя из анализа научной литературы, можно предложить вместо первичного блока обработки использовать PIV-блок. Его преимущества: измерение показаний с высокой точностью; быстрая обработка больших объемов данных; с помощью него можно визуализировать данные об обводненности потока в различный момент времени; возможность изучения турбулентных потоков и осуществления анализа турбулентных структур.
Для контроля качества могут быть использованы ЭВМ, которые играют важную роль в оптоэлектронных системах, которые объединяют в себе элементы оптики и электроники для обработки информации.
Внедрение автоматической коррекции воздействия внешних факторов, таких как температура окружающей среды, позволяет улучшить работу ЭВМ за счет оптимизации условий функционирования, что помогает не только расширить функциональные возможности систем, но и повысить точность анализа данных. Автоматическая коррекция позволяет компенсировать изменения внешних условий и обеспечить более стабильную и надежную работу вычислительной системы [18].
Внешний вид анализатора с учетом разработанных требований имеет вид, представленный на рис. 3.

Рис. 3. Расположение оптического анализатора в сечении трубопровода:
1 – приемник; 2 – источник излучения; 3 – диод; 4 – чувствительный элемент
Fig. 3. The location of the optical analyzer in the pipeline section:
1 – receiver; 2 – radiation source; 3 – diode; 4 – sensitive element
При рассмотрении поперечного сечения анализатора можно заметить, что приемник излучения и источник расположены в корпусе щелевого канала друг напротив друга. Благодаря такому расположению, весь монохроматический пучок поступает на чувствительный элемент и далее анализируется.
Между источником и приемником предусмотрено определенное расстояние, таким образом, источник излучения, проходя через поток водонефтяной эмульсии, теряет часть своей энергии и наблюдается эффект рассеяния света. По количеству принятого света исследуется значение обводненности.
Излучатель представляет собой светодиод или полупроводниковый лазерный диод и создает излучения в спектральном диапазоне от 300 до 1 000 нм. Это электронное устройство, способное преобразовывать электрическую энергию в электромагнитное излучение определенной длины волны. Оба типа излучателей имеют свои уникальные характеристики и применения.
Влагомер снабжен дополнительными источниками и приемниками излучения (всего их четыре), расположенными на заданном расстоянии друг от друга. Таким образом, показания четырех фотодиодов будет усреднено для исключения систематической погрешности, вызванной образованием на поверхностях датчика парафиновых, солевых и прочих отложений.
По полученным значениям оптической плотности, согласно закону Бугера – Ламберта – Бера, определяется обводненность посредством PIV-блока обработки сигналов датчиков.
Достоинством такой системы является точность обработки данных, возможность отображать информацию об обводненности (на экран, самописец и т. д.), а также определять ее во всем диапазоне. Кроме этого, можно отметить малое влияние на работу прибора температуры и уровня содержания солей в водонефтяной смеси.
Расположение анализатора в технологической схеме и особенности монтажа
Для выполнения контроля измерения обводненности в потоке можно представить следующую схему.
Измерительный участок представляет собой параллельный трубопровод, в котором размещены четыре источника излучения и четыре приемника. Между диодом и приемником имеется щель. В этом пространстве измеряется оптическая плотность потока фотометрическим методом.
Положение системы измерения показаний обводненности эмульсии относительно трубопровода показано на рис. 4.

Рис. 4. Схема взаимного расположения трубопровода и системы измерений обводненности потока
Fig. 4. The scheme of the relative location of the pipeline and the measurement system of the water flow
Данную систему можно разделить на несколько уровней (рис. 5).

Рис. 5. Структурная схема информационно-измерительной системы
Fig. 5. Block diagram of the information and measurement system
Основной вариант крепления датчика к трубопроводу – канальное крепление, которое предполагает монтаж датчика в специальном отводе трубопровода. Установка при этом может быть перпендикулярная, угловая или в изгибе. Канальное крепление требует использования специальной арматуры для монтажа (бобышек и защитных гильз).
Устройствами, позволяющими установку канальным способом и обеспечивающими их бесперебойную работу, являются бобышки, защитные гильзы и передвижные штуцера.
Монтаж датчиков с неподвижным штуцером с применением бобышек (соединение по ГОСТ 22526-77) позволяет зафиксировать головку преобразователя независимо от штуцера (клеммная головка не крутится вокруг оси при вкручивании). Это также облегчает подключение и позволяет установить клеммную головку в направлении присоединительного провода.
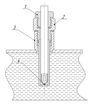
Исходя из анализа источников [19–21], наиболее предпочтительной является радиальная установка с применением бобышки и защитных гильз, представленная на рис. 6.

Рис. 6. Схема установки анализатора в нефтепроводе: 1 – штуцер анализатора; 2 – гильза; 3 – бобышка прямая; 4 – источник излучения
Fig. 6. Installation diagram of the analyzer in the oil pipeline: 1 – analyzer fitting; 2 – sleeve; 3 – straight boss; 4 – radiation source
Такая схема установки обеспечивает высокую точность измерений обводненности в потоке, стабильную и надежную работу при удобстве монтажа и обслуживания.
С помощью двух датчиков (рис. 7), направленных навстречу друг другу, в трубопроводе создается оптический пучок, с помощью которого осуществляется зондирование потока жидкости и измерение его оптической плотности.

Рис. 7. Предлагаемая схема расстояния между параллельными датчиками
Fig. 7. The proposed scheme of the distance between parallel sensors
Измерительные участки для трубопроводов малого диаметра изготавливают в заводских условиях и поставляют потребителям в виде фланцованных (врезных) секций. До начала монтажа бобышек (датчиков) необходимо измерить внутренний диаметр трубопровода D. Далее, исходя из внутреннего диаметра D и выбранной конфигурации канала (схемы установки датчиков), вычисляют продольное (вдоль трубопровода) расстояние L между датчиками. Следующая очень ответственная операция – разметка центров отверстий для датчиков. Бобышки крепят на поверхности трубопровода электросваркой. Они имеют цилиндрическую форму, в теле которой имеется сквозное отверстие, сквозь которое излучающая поверхность датчика контактирует с эмульсией.
Сравнительно легко решается задача монтажа бобышек на пустом трубопроводе. Вокруг ранее размеченных центров датчиков в стенке трубы вырезают отверстия эллиптичной формы. Бобышки должны быть закреплены над отверстиями, причем так, чтобы отверстия в бобышках лежали на одной оси. Стандартный метод обеспечения правильного взаимного ориентирования бобышек для пары датчиков базируется на применении монтажного штока – металлического стержня с диаметром, равным диаметру сквозного отверстия в бобышке. Шток пропускают сквозь трубопровод и нанизывают на него бобышки – по одной с каждой стороны трубы. Бобышки прижимают к поверхности трубопровода и «прихватывают» электросваркой, после чего шток вынимают. Далее приваривают бобышки к поверхности трубы сплошным швом.
Таким образом, благодаря такому расположению, между источником и приемником образуется достаточное расстояние для проведения точного анализа обводненности. Оптимальное расстояние между при-
емником и источником излучения – 0,6Dу.
Так как габариты измерительного участка для трубопроводов малого диаметра незначительны, его принято изготавливать в заводских условиях и ставить в виде бугельной секции – бугельного разъемного соединения (БРС). Данное соединение – разновидность муфтового для соединения отдельных участков трубопровода [22]. БРС имеет меньшее значение металлоемкости и прост в установке. Были определены конструктивные размеры БРС при расчетном диаметре трубопровода 250 мм и толщине стенки 3 мм, соединение проверено на прочность. Монтаж анализатора к трубопроводу осуществляется неподвижным штуцером с применением бобышки и защитных гильз.
Заключение
На основании проведенного анализа патентной литературы и экспериментальных исследований, разработан способ определения обводненности на основе оптического датчика. При соблюдении схемы информационно-измерительной системы, описанных особенностей конструкции, монтажа на трубопроводе анализатор сохраняет работоспособность в восокообводненной эмульсии, обеспечивается высокая точность измерения во всем диапазоне обводненности.
1. Esieva L. K., Bigaeva I. M., Zakaeva R. Sh. Opticheskie metody analiza [Optical analysis methods]. Opticheskie i densimetricheskie metody' analiza. Vladikavkaz, Izd-vo SOGU, 2013. P. 6.
2. Bajkov N. M., Sajfutdinova X. X., Avdeeva G. N. Laboratornyj kontrol' pri doby`che nefti i gaza [Laboratory control during oil and gas production]. Moscow, Nedra Publ., 1983. 128 p.
3. Sattorov M. O., Shomurodov A. Yu. Issledovanie iz-meneniya ustojchivosti vodoneftyanyx emulsij mestnyx neftej [Investigation of changes in the stability of water-oil emulsions of local oils]. Nauka i obrazovanie segodnya, 2016, no. 2 (3), pp. 43-44.
4. Kashaev R. S., Kozelkov O. V. Pribory i metody analiza fiziko-ximicheskix svojstv nefti [Instruments and methods for analyzing the physico-chemical properties of oil]. Uspexi sovremennogo estestvoznaniya, 2017, no. 7, pp. 12-17.
5. Goncharov A. A. Polnodiapazonnyj potochnyj vlagomer syroj nefti [Full-range flow moisture meter for crude oil]. Patent RF 118757U1, MPK G01N27/02, E21B43/00; 27.07.2012.
6. Ahobadze G. N. Ustrojstvo dlja opredelenija vlazhnosti nefteproduktov v truboprovode [A device for determining the moisture content of petroleum products in a pipeline]. Patent RF 2199731C1, MPK G01N 22/04, no. 2001115778/09; 27.02.2003.
7. Denislamov I. Z. Sposob ocenki obvodnennosti produkcii neftedobyvajushhej skvazhin [A method for assessing the water availability of oil well products]. Patent RF 2610941C1, MPK E21B47/10, no. 2015151849; 17.02.2017.
8. Zajcev E. V. Potochnyj vlagomer [Flow moisture meter]. Patent RF 2669156C1, MPK G01N 21/35, G01F 1/76, no. 2017138953; 10.08.2019.
9. Zajcev E. V. Potochnyj vlagomer [Flow moisture meter]. Patent RF 2704034C1, MPK G01N21/35, no. 2019102364; 23.10.2019.
10. Bukin K. V. Sposob nepreryvnogo izmerenija massovoj doli primesej i potochnyj analizator primesej v nefti i nefteproduktah [A method for continuous measurement of the mass fraction of impurities and a flow analyzer of impurities in oil and petroleum products]. Patent RF 2756414C1, MPK G01N 23/083, G01N 23/223, no. 2021101295; 30.09.2021.
11. Poltorackij V. M. Polnodiapazonnyj potochnyj vlagomer syroj nefti (varianty) [Full-range flow moisture meter for crude oil (options)]. Patent RF 57466U1, MPK G01B9/0201, no. 2006108871/22; 10.10.2006.
12. Rahimov N. R., Zhmud' V. A. Optojelektronnye metody izmerenija i kontrolja tehnologicheskih parametrov nefti i nefteproduktov [Optoelectronic methods of measurement and control of technological parameters of oil and petroleum products]. Avtomatika i programmnaja inzhenerija, 2015, no. 2 (12), pp. 85-108.
13. Il'jasova A. I. Analiz opticheskih svojstv vodo-neftjanyh jemul'sij s cel'ju prognozirovanija harakteristik obvodnenija [Analysis of optical properties of water-oil emulsions in order to predict the characteristics of flooding]. 73-ja Mezhdunarodnaja studencheskaja nauchno-tehnicheskaja konferencija: materialy (Astrahan', 17–22 aprelja 2023 goda). Astrahan', Izd-vo AGTU, 2023. Pp. 217-220.
14. Poltorackij B. M., Kurdjukov E. V., Slepjan M. A., Suharev V. P. Polnodiapazonnyj vlagomer dlja opredelenija debita nefti v produkcii skvazhin [Full-range moisture meter for determining the oil flow rate in well products]. Avtomatizacija, telemehanizacija i svjaz' v neftjanoj promyshlennosti, 2006, no. 4, pp. 7-16.
15. Fathutdinov A. Sh., Slepjan M. A., Hanov N. I. i dr. Avtomatizirovannyj uchet nefti i nefteproduktov pri dobyche, transportirovke i pererabotke [Automated accounting of oil and petroleum products during extraction, transportation and processing]. Moscow, Nedra Publ., Biznes-centr Publ., 2002. 416 p.
16. Il'jasova A. I., Titova L. M. Trudnosti primenenija spektrofotometricheskogo metoda dlja opredelenija obvodnennosti vodoneftjanoj jemul'sii v potoke i puti ih reshenija [The difficulties of using the spectrophotometric method to determine the water content of a water-oil emulsion in a stream and ways to solve them]. Nauka i praktika – 2023: materialy Vserossijskoj mezhdisciplinarnoj nauchnoj konferencii (Astrahan', 13–17 nojabrja 2023 goda). Astrahan, Izd-vo AGTU, 2024. Pp. 412-414.
17. Seredkin A. V. Razrabotka metodov rekonstrukcii i analiza trjohmernoj struktury dvizhushhihsja ob'ektov: avtoref. dis. … kand. tehn. nauk [Development of methods for reconstruction and analysis of the three-dimensional structure of moving objects: abstract of the dissertation ... Candidate of Technical Sciences]. Novosibirsk, 2022. 17 p.
18. Rahimov N. R., Zhmud' V. A., Trushin V. A. i dr. Optojelektronnye metody izmerenija i kontrolja tehnolog-icheskih parametrov nefti i nefteproduktov [Optoelectronic methods of measurement and control of technological parameters of oil and petroleum products]. Avtomatika i programmnaja inzhenerija, 2015, no. 2 (12), pp. 85-108.
19. Kochetkova L. I. Analiz osnovnyh metodov moni-toringa magistral'nyh nefteprovodov v rezhime real'nogo vremeni [Analysis of the main methods of monitoring main oil pipelines in real time]. Peredovye innovacionnye razrabotki. Perspektivy i opyt ispol'zovanija, problemy vnedrenija v proizvodstvo: sbornik nauchnyh statej po itogam vos'moj mezhdunarodnoj nauchnoj konferencii (Kazan', 30 sentjabrja 2019 goda). Kazan', KONVERT Publ., 2019. Pp. 134-137.
20. Poljakov O. A. Analiz tehnicheskogo urovnja intel-lektualizacii sistem monitoringa magistral'nyh nefteprovodov [Analysis of the technical level of intellectualization of monitoring systems of main oil pipelines]. Studencheskie nauchnye issledovanija: sbornik statej IX Mezhdunarodnoj nauchno-prakticheskoj konferencii v 2 chastjah (Penza, 17 dekabrja 2021 goda). Chast' 1. Penza, Nauka i Prosveshhenie (IP Guljaev G. Ju.), 2021. Pp. 69-72.
21. Rzaev Ju. R., Kopysickij T. I. Optimal'nyj vybor izmeritel'nogo oborudovanija dlja sistemy ucheta syroj nefti [Optimal choice of measuring equipment for the crude oil metering system]. Truboprovodnyj transport: teorija i praktika, 2011, no. 6 (28), pp. 38-45
22. Pogodin V. K. Raz'emnye soedinenija i germetizacija v oborudovanii vysokogo davlenija [Detachable connections and sealing in high-pressure equipment]. Irkutsk, IrkutskNIIhimmash Publ., 2001. 405 p.



