Izhevsk, Russian Federation
Izhevsk, Izhevsk, Russian Federation
Chelyabinsk, Russian Federation
Izhevsk, Izhevsk, Russian Federation
Izhevsk, Izhevsk, Russian Federation
In recent years, digital technologies and information systems have become an integral part of the production and economic activities of any enterprise. Resource planning, production, logistics, finance, interaction and information exchange should be based on modern technologies that combine all business processes of an enterprise into a single integrated information system. The impact of the introduced integrated information system on improving the efficiency of an industrial enterprise has been analyzed. There have been substantiated the prerequisites and the need to introduce an integrated information system, presented the principles for developing the networked industrial environments reflecting the concept of the fourth industrial revolution. The operating information environment was analyzed taking the oil and gas production bureau Votkinsk (NGDU Votkinsk) - a structural unit of PJSC, Udmurtneft named after V. I. Kudinov as an example. There have been defined three levels designed to solve the problems of different functional orientation of the enterprise. For the first level of problem solving, a matrix is presented that allows you to more clearly and clearly see the company’s business processes. There has been proposed a conceptual approach to assessing the effectiveness of the implementation of an integrated information system in the activities of the Votkinsk oil and gas production department. Analysis of the material and technical functional direction of the enterprise allowed to determine the existing operations implemented in the information system, as well as shortcomings at the stage of activity planning. The algorithm of business processes of the material and technical functional area of NGDU Votkinsk for the Operation Planning operation has been developed and illustrated, which makes it possible to effectively submit an application for the performance of works/services in a single data format, control the budget, take operational decisions in a timely manner in real time, and most importantly correct managerial decisions. The generated results will accelerate the formation of scientific research in this area, implement the digital transformation program for NGDU Votkinsk, as well as its development strategy.
integrated information system, efficiency, effectiveness, industrial enterprise, information environment, business process algorithm
Введение
В условиях рыночной экономики повышение эффективности промышленного предприятия любой формы собственности невозможно без использования современных цифровых технологий и информационных систем. Изменившиеся приоритеты и условия структурного «перепроектирования» промышленности, обусловившие формирование нового технологического ядра [1, 2], предопределили стремление компаний к подключению к облачным сервисам, большим данным (Big Data), интернету вещей (IoT), искусственному интеллекту [3]. Появились возможности существенного повышения эффективности промышленных предприятий за счет включения их в цифровую экосистему для создания и реализации продукции, интеграции процессов и технологий, формирования управления совместной работы с коллегами и партнерами, снижения вреда для окружающей среды.
Четвертая промышленная революция, которая реализуется в настоящее время, позволяет глубоко переосмыслить многие ключевые положения относительно значимости инновационных тенденций развития общества, разработки новых принципов формирования сетевых промышленных сред, таких как интероперабельность, виртуализация, децентрализация, распределенное управление и связь, работа в режиме реального времени, ориентация на обеспечение технологического суверенитета, быстрое и простое техническое обслуживание, низкая стоимость и модульность [4].
Постановка проблемы
Несмотря на положительный опыт внедрения информационных систем в деятельность промышленных предприятий, существуют факторы, ограничивающие их развитие. Относительно внутренних факторов развития следует отметить, что на ряде промышленных предприятий информационные системы разобщены [5]. Вертикали управления формируются собственными уникальными бизнес-процессами в соответствии со стандартами и правилами безопасности. Как следствие, актуализируется проблема обмена информацией между участниками таких процессов, что не позволяет создать основу для обеспечения быстрого и гибкого реагирования, консолидации всех видов ресурсов.
Результаты исследования в области влияния факторов внешней среды на развитие информационных систем в промышленном предприятии выявили, что подход, основанный исключительно на использовании возможностей глобальных поставщиков облачных услуг для предоставления цифровых данных, имеет ограничения с двух основных точек зрения [6, 7].
С одной стороны, широкополосные беспроводные сети могут не обеспечить необходимую пропускную способность, с другой стороны, полагаясь только на развернутые глобальные облака, возможна ситуация, когда заинтересованные стороны управленческого процесса теряют контроль над своими данными, поскольку они будут передаваться в дата-центры без какого-либо контроля владельца данных.
Для преодоления этих проблем необходимо изменение парадигмы в способах управления собранными данными и их обработки на предприятии. С этой целью использование местных и мобильных облачных технологий как способа реализации многоуровневой информационной системы будет способствовать принятию оптимального управленческого решения, что неизбежно приведет к повышению эффективности функционирования предприятия.
Анализ предыдущих исследований и публикаций
В настоящее время проведено множество научных исследований, посвященных проблеме влияния информационных систем на эффективность предприятий.
Существенный вклад в развитие теории влияния информационных систем на эффективность предприятий внесли А. Дж. Альберхт, Дж. Е. Гаффлей, Т. Де Марко, Б. С. Мак-Нурлин, П. Мертенс, Д. Нортон, Р. Каплан, С. Альтер, Г. Антее, Т. Мейор, Р. Фридман, А.-В. Шеер, Л. Фишер и др. [8, 9].
Использование информационных технологий и систем на предприятиях промышленного комплекса России с целью повышения их эффективности и качества, а также управления информацией рассматривается в работах российских ученых-экономистов В. В. Акбердиной, О. А. Романовой, С. В. Ореховой, А. А. Нечаева, Б. Е. Попова, С. Д. Бодрунова, Е. Г. Сычевой, Е. Е. Меринской и др. [7, 10, 11].
Резюмируя результаты работ представленных авторов, следует отметить, что проблемы внедрения и развития информационных систем до сих пор остаются до конца не изученными, что не позволяет промышленным предприятиям в полной мере осуществлять планирование и контроль затрат, своевременно выполнять бюджетные обязательства, приводить к единому формату бизнес-процессы, создавать единое информационное поле для участников процесса управления затратами на всех этапах жизненного цикла продукции.
Целью настоящего исследования является анализ влияния внедрения интегрированной информационной системы на повышение эффективности промышленного предприятия.
Для достижения поставленной цели были поставлены следующие задачи:
– провести анализ существующей информационной среды промышленного предприятия;
– предложить и аргументировать концептуальный подход к оценке результативности внедрения интегрированной информационной системы в деятельность промышленного предприятия, являющегося объектом исследования;
– выявить на примере одного из функционального направления решения задач организации и управления на предприятии недостатки в действующей информационной системе;
– разработать алгоритм бизнес-процессов исследуемого функционального направления объекта исследования;
– обосновать возможность практической реализации разработанного алгоритма как неотъемлемого компонента интегрированной информационной системы промышленного предприятия.
Материалы и методы исследования
Объектом исследования является структурное подразделение крупнейшей нефтедобывающей компании ПАО «Удмуртнефть» им. В. И. Кудинова − нефтегазодобывающее управление «Воткинск» (НГДУ «Воткинск»), функционирующее в республике Удмуртия, г. Воткинск.
Результаты анализа применения информационных технологий в управлении предприятием свидетельствуют о том, что основной тенденцией является все более полный охват стадий производственного процесса [12, 13].
Существующая информационная среда НГДУ «Воткинск» подразумевает наличие трех уровней, предназначенных для решения задач разной функциональной направленности.
1 уровень − прикладных и функциональных направлений для решения задач организации и управления на предприятии: производственно-технологических; материально-технических; организационно-коммерческих; управления персоналом; научно-исследовательских; финансово-хозяй-ственных.
Результаты анализа первого уровня решения функциональных задач предлагается представить в виде матрицы, позволяющей более детально рассмотреть бизнес-процессы и повысить эффективность контроля над экономическими показателями (таблица).
Если промышленное предприятие рассматривать как систему, то рекомендуется и оценку решения задач прикладного и функционального направления осуществлять системно, т. е. с учетом оценки операций в бизнес-процессах, при этом оценивая влияние изменений на другие ключевые процессы предприятия.
По горизонтали матрицы представлены функциональные направления решения задач, стоящих перед промышленным предприятием, по вертикали – операции, реализацию которых целесообразно осуществлять непосредственно в рамках отдельных функциональных направлений. При этом в таблице настоящего исследования показаны окрашенные ячейки, используемые для показателей, равных единице.
Матрица функциональных направлений для решения задач организации и управления на предприятии
Matrix of functional areas for solving problems of organization and management at the enterprise
|
Операции
Функциональные направления |
Планирование деятельности C1 |
Разработка и принятие решения C2 |
Организация процесса |
Контроль реализации решения C4 |
Оценка выполнения решения C5 |
Контроль планов |
|
s1 |
s2 |
s3 |
s4 |
s5 |
s6 |
|
|
U1 – производственно-технологическое |
|
|
|
|
|
|
|
U2 – материально-техническое |
|
|
|
|
|
|
|
U3 – организационно-коммерческое |
|
|
|
|
|
|
|
U4 – управление персоналом |
|
|
|
|
|
|
|
U5 – научно-исследовательское |
|
|
|
|
|
|
|
U6 – финансово-хозяйственное |
|
|
|
|
|
|
Коэффициенты s1−s6 показывают наличие (отсутствие) информации для каждого функционального направления, а также необходимость выполнения таких операций. Могут быть представлены значениями 0 или 1.
2 уровень − поддержки принятия управленческих решений – включает решение представленных на предыдущем уровне задач в соответствии с разными технологиями, обеспечивающими обработку, распределение данных в локальных и мобильных облаках, их передачу и хранение благодаря специальным методам и алгоритмам обработки.
Решение каждой задачи функционального направления будет зависеть от выполнения отдельных операций Ui = f (Ci).
3 уровень – поддержки жизненного цикла – позволяет интегрировать данные на предыдущем уровне и сформировать сервис-ориентированную архитектуру, состоящую из совокупности информационных систем и технологий, позволяющую при этом обеспечить семантическую и синтаксическую интероперабельность данных и их защиту в режиме реального времени, а также резервное копирование баз данных, контроль доступа и другие функции.
На данном уровне формируется интегрированная информационная система предприятия НГДУ «Воткинск», которая может быть представлена в виде системы U = {U1, U2, U3, U4, U5, U6}.
Результаты исследования
В настоящем исследовании эффективность внедрения рассчитывается с помощью показателя результативности, отражающего степень достижения запланированного результата [14, 15].
Оценка результатов внедрения интегрированной информационной системы в деятельность промышленного предприятия может быть представлена в виде суммы произведений коэффициентов выполнения каждой функциональной задачи и их весовых коэффициентов:
U = 0,51U1 + 0,12U2 + 0,13U3, + 0,06U4, +
+ 0,03U5, + 0,15U6 → 1,
где U – коэффициент результативности внедрения интегрированной информационной системы в деятельность промышленного предприятия; Ui – коэффициент соответствия цели для каждой функциональной задачи в отдельности.
Весовые коэффициенты для функциональных задач НГДУ «Воткинск» могут быть представлены следующими значениями:
– производственно-технологическое направление – 0,51;
– материально-техническое направление – 0,12;
– организационно-коммерческое направление – 0,13;
– управление персоналом – 0,06;
– научно-исследовательское направление – 0,03;
– финансово-хозяйственное направление – 0,15.
Весовые коэффициенты определены экспертным путем с участием руководителей правления головной компании ПАО «Удмуртнефть» им. В. И. Кудинова в соответствии со стратегией развития предприятия. Данные коэффициенты в полном объеме отражают специфику нефтяной промышленности, а также базируются на системе управления информацией предприятия, использующей современные идеи и методы управления.
При получении коэффициента результативности ниже 1 целесообразно проведение анализа показателей, динамика которых является отрицательной. С этой целью следует рассмотреть данный показатель более подробно.
На примере материально-технического направления НГДУ «Воткинск» представляется возможным определить существующие операции информационной системы, характерные для НГДУ «Воткинск»: планирование деятельности; организация процесса реализации решения; контроль реализации решения.
Стадии планировании деятельности предшествует заключение договора головной компанией ПАО «Удмуртнефть» им. В. И. Кудинова. Предусматривается также оценка соответствия стоимости договора и цены согласно бизнес-плану предприятия. Управление информацией на данной стадии осуществляется в программном комплексе «ИНТАЛЕВ: Корпоративный менеджмент».
На стадии планирования деятельности оформляется заявка на выполнение работ/услуг. Планирование ресурсов позволяет предприятию систематизировать информацию, осуществлять ее взаимодействие и обмен с внутренними и внешними заинтересованными сторонами. Данная стадия в настоящее время отличается от других отсутствием программного продукта, что не позволяет должным образом вести контроль и учет оформляемых заявок.
На стадии организации процесса реализации решения осуществляется выполнение работ/услуг и оформление соответствующих актов выполненных работ. Использование информационных систем на данной стадии позволяет ускорить и обеспечить надежную работу в наиболее короткий цикл, чтобы оставаться конкурентоспособным и эффективным.
Стадия контроля реализации решения связана с поступлением соответствующего акта и его проверкой на соответствие плановым ценам, наличию денежных средств в сформированном бюджете, а также сравнением со стоимостью работ согласно заключенному договору. Объективная оценка результатов фактического учета осуществляется несколькими службами предприятия в программе «1C:Бухгалтерия»: экономической службой при осуществлении оперативного учета до момента отражения в бухгалтерском учете; бухгалтерией – при выполнении фактического учета.
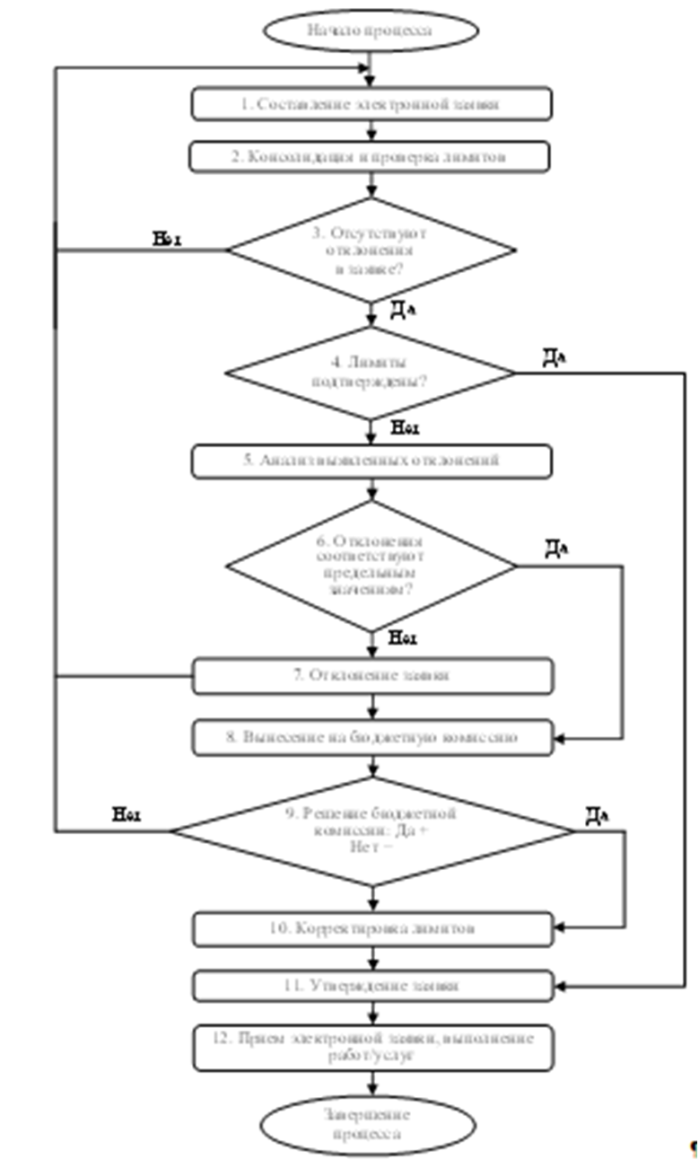
В настоящем исследовании предлагается алгоритм бизнес-процессов материально-технического функционального направления НГДУ «Воткинск» для операции «Планирование деятельности» (рисунок).
Согласно предложенному алгоритму первым этапом является составление электронной заявки, которая должна включать в себя информацию о статье бюджета, договоре, подрядной организации. После этого производится проверка данных и их утверждение. Заявка направляется подрядной организации, которая впоследствии приступает к оперативному выполнению работ/услуг.
Представленный алгоритм демонстрирует возможность отклонения заявки по двум причинам:
1) неправильно сформирована сама заявка (используются неверные данные);
2) превышение лимита заложенного бюджета на выполнение данного вида работ.
В случае отклонения цены заявки учитываются его предельные отклонения. В представленном алгоритме заложен вариант предельно допустимого отклонения – 5 %. Но даже в этом случае окончательное решение данного вопроса будет зависеть от Бюджетной комиссии. В случае положительного решения Бюджетной комиссии происходит корректировка лимитов, затем утверждение электронной заявки.
И наконец, в случае отрицательного решения Бюджетной комиссии головного предприятия (ПАО «Удмуртнефть» им. В. И. Кудинова), в структуру которого входит Воткинское НГДУ, заявка отклоняется, корректировка бюджета не производится, что приводит либо к корректировке стоимости заявки, либо к отказу от проведения работ.
Рассмотрим пример оформления электронной заявки на оказание транспортных услуг, где производится разбивка по часам, видам применяемой техники и периодам их использования. Очевидно, что при наступлении планового периода происходит большая вероятность превышения стоимости работ как по договору, так и по сформированному бюджету. Учитывая это, целесообразно сокращение планового периода заявки до минимального одного дня, ведущего, в свою очередь, к усилению контроля сформированного бюджета.
Одним из преимуществ реализации представленного алгоритма в информационной системе является возможность работы с единой информационной базой и отчетностью в режиме online, позволяющей осуществить поиск крайне важной и актуальной информации по утвержденным плановым показателям, бюджету, договорным условиям. При этом ввод электронных актов дает возможность быстро в режиме реального времени проводить мониторинг фактического освоения затрат по каждой статье в сравнении с поданной электронной заявкой, а также данными, которые утверждает бухгалтерия.
Таким образом, возможно получение следующей информации:
1. Лимиты сформированных бюджетов.
2. Суммы по плановым заявкам, отдельным статьям бюджета, договорам, подрядным организациям, центрам ответственности и местам возникновения затрат.
3. Сумма, фактически освоенная на данный момент по статье бюджета и договору.
4. Остатки по статье бюджета доходов и расходов, договору и заявке.
5. Экономия по другим статьям.
Алгоритм бизнес-процессов материально-технического функционального направления НГДУ «Воткинск»
для операции «Планирование деятельности»
Algorithm of business processes of the material and technical functional area of NGDU Votkinsk
for the operation “Planning Activities”
Полученные в ходе исследования результаты позволили сделать вывод о том, что сформированный алгоритм бизнес-процессов материально-технического функционального направления НГДУ «Воткинск» для операции «Планирование деятельности» способствует созданию единой централизованной системы планирования, технологии ведения бизнеса, работы с внутренней документацией. Другой результат предложенного исследования заключается в выводе о том, что на стадиях организации процесса реализации решения и контроля реализации решения появляется возможность формирования электронного акта выполненных работ с последующим занесением посредством системы цифровых согласований в отдел бухгалтерии.
В электронном акте целесообразно включение возможностей контроля затрат по четырем направлениям:
1. Контроль расценок (сверка с прейскурантом цен).
2. Контроль стоимости по договору (с целью определения остатков на следующие отчетные периоды: план – факт – остаток).
3. Контроль стоимости по отдельной статье затрат сформированного бюджета.
4. Контроль исполнения электронной заявки.
При этом на стадии организации процесса и контроля реализации решения превышение лимитов бюджета приводит к невозможности формирования электронного акта выполненных работ. Вместе с тем после корректировки лимитов и утверждения их Бюджетной комиссией данные акты продолжают дальнейшее продвижение по цепочке согласований, затем загружаются в модуль «Контроль исполнения бюджета».
После согласования акта всеми компетентными в данной области сотрудниками, включая работников Планово-экономического отдела, он направляется по электронной цепочке в Бухгалтерскую службу, где происходит его утверждение или отклонение. В случае утверждения акта, оформленного и проверенного в цифровом формате, на основании бухгалтерского счета и соответствующих проверок финансовой службой производится оплата выполненных работ/услуг.
Таким образом, автоматизация всех операций, выполняемых при решении задач организации и управлении на предприятии, создает дополнительные условия для повышения эффективности их работы, заключающиеся в значительном опережении по времени процессов управления всеми видами ресурсов.
При этом реализация вышеизложенного алгоритма в интегрированной информационной системе позволит отражаться данным по затратам в режиме реального времени, что, безусловно, будет способствовать оперативной выработке правильных управленческих решений.
Заключение
Сегодня большинство процессов в промышленности поддерживается цифровыми технологиями и информационными системами. Четвертая промышленная революция привела к созданию новых и развитию существующих технологий, огромному количеству данных, которые служат инструментом для совершенствования систем автоматизации на предприятиях. В последние несколько десятилетий большие данные генерируются в промышленных условиях благодаря широкому использованию сетевых информационных систем.
Особый интерес в работе представляет интегрированная информационная система, направленная на получение эффектов от процесса управления ресурсами предприятия. Данный эффект аккумулируется с эффектом создания конкурентных преимуществ компании, когда ресурсы в виде высвободившегося рабочего времени используются ответственными лицами для выполнения дополнительных функций, таких как полный анализ статей расходов.
Для нефтедобывающих предприятий, работающих круглосуточно и удаленно друг от друга, но имеющих общие параметры, создается возможность организовать интегрированную распределенную информационную систему. Благодаря гибкости данную систему можно организовать за пределами компании. Внедрение интегрированной информационной системы позволит промышленному предприятию также подключить сервисные организации, формирующие пространственную организацию бизнеса. В качестве их конкурентного преимущества сегодня представляется возможным осуществлять работу в единой системе, сокращая при этом факторы времени и длительность процесса принятия решения.
Применение новой системы дает возможность промышленным предприятиям произвести трансформацию оборота первичной документации, подтвержденной бумажным носителем на стадии бухгалтерского учета (без необходимости повторного согласования ответственных специалистов).
Успешная реализация интегрированной информационной системы, безусловно, окажет положительное влияние на повышение эффективности предприятия, на возможность реализации программы цифровой трансформации, а также стратегии его развития.
1. Grakhov V. P., Kisliakova Iu. G., Mokhnachev S. A., Simakov N. K. Aktual'nost' tsifrovogo stroitel'stva zdanii v promyshlennosti. Rossiia i mir: razvitie tsivilizatsii. Innovatsii i konservatizm: poisk balansa [Importance of digital building construction in industry. Russia and the world: development of civilizations. Innovation and conservatism: Finding balance]. Materialy XII Mezhdunarodnoi nauchno-prakticheskoi konferentsii (Moskva, 06 aprelia - 07 iiunia 2022 g.). Moscow, Izd-vo In-ta mirovykh tsivilizatsii, 2022. Pp. 88-91.
2. Romanova O. A., Sirotin D. V. Predposylki dostizheniia tsifrovoi zrelosti metallurgii Rossii. Tsifrovaia transformatsiia promyshlennosti: tendentsii, upravlenie, strategii - 2021 [Prerequisites for achieving digital maturity of metallurgy in Russia. Digital transformation of industry: trends, management, strategies - 2021]. Materialy III Mezhdunarodnoi nauchno-prakticheskoi konferentsii (Ekaterinburg, 29 oktiabria 2021 g.). Ekaterinburg, Izd-vo In-ta ekonomiki UrO RAN, 2021. Pp. 110-128.
3. Kurganova N. V., Filin M. A., Cherniaev D. S., Shaklein A. G., Namiot D. E. Vnedrenie tsifrovykh dvoinikov kak odno iz kliuchevykh napravlenii tsifrovizatsii proizvodstva [Introduction of digital twins as one of key areas of production digitalization]. International Journal of Open Information Technologies, 2019, vol. 7, no. 5, pp. 105-115.
4. D'iachenko O. I., Borkhovich S. Iu. Razrabotka stsenariev povysheniia effektivnosti investitsionnykh proektov [Development of scenarios for increasing efficiency of investment projects]. Neftepromyslovoe delo. Oilfield Engineering, 2012, no. 6, pp. 45-49.
5. Markov D. A. Informatsionnaia sistema kak faktor povysheniia konkurentosposobnosti promyshlennogo predpriiatiia: dis. … kand. ekon. nauk [Information system as factor in increasing competitiveness of industrial enterprise: Diss. … Cand. Econ. Sci.]. Izhevsk, 2009. 169 p.
6. Krysenkova N. B., Chursina T. I., Leshchenkov F. A. Ispol'zovanie tsifrovykh tekhnologii v kontseptsii otkrytogo pravitel'stva za rubezhom [Using digital technologies in concept of open government abroad]. Zhurnal zarubezhnogo zakonodatel'stva i sravnitel'nogo pravovedeniia, 2020, no. 4, pp. 67-79.
7. Romanova O. A., Sirotin D. V. Razvitie sistemy iskusstvennogo intellekta v promyshlennosti RF: normativnoe obespechenie i problemy bezopasnosti. Ekonomiko-pravovye problemy obespecheniia ekonomicheskoi bezopasnosti [Development of artificial intelligence system in industry of Russian Federation: regulatory support and security problems. Economic and legal problems of ensuring economic security]. Materialy IV Mezhdunarodnoi nauchno-prakticheskoi konferentsii (Ekaterinburg, 19 marta 2021 g.). Ekaterinburg, Izd-vo UrGEU, 2021. Pp. 109-112.
8. Kaplan R. S., Norton D. P. The balanced scorecard. Harvard Business Press, 1996. 322 p. (Kaplan R. S., Norton D. P. Sbalansirovannaia sistema pokazatelei: ot strategii k deistviiu / per. s angl. M. Pavlova. M.: Olimp-Biznes, 2014. 314 s.).
9. Orekhova S. V., Butakov I. A. Allokatsiia resursnogo portfelia gruppy promyshlennykh predpriiatii [Allocation of resource portfolio of group of industrial enterprises]. Journal of New Economy, 2022, vol. 23, no. 4, pp. 87-120.
10. Ershova I. V., Kliuev A. V. Optimizatsiia proizvodstvennoi programmy malykh i srednikh mashinostroitel'nykh predpriiatii s uchetom potentsiala zakazchika [Optimization of production program of small and medium-sized machine-building enterprises subject to potential of customer]. Vestnik Iuzhno-Ural'skogo gosudarstvennogo universiteta. Seriia: Ekonomika i menedzhment, 2022, vol. 16, no. 4, pp. 81-88.
11. Akberdina V. V. Transformatsiia promyshlennogo kompleksa Rossii v usloviiakh tsifrovizatsii ekonomiki [Transformation of industrial complex of Russia in context of digitalization of economy]. Izvestiia Ural'skogo gosudarstvennogo ekonomicheskogo universiteta, 2018, vol. 19, no. 3, pp. 82-99.
12. Grakhov V. P., Kuznetsov A. L., Kisliakova Iu. G., Simakova U. F., Kniazeva Ia. O. Vnedrenie tsifrovogo upravleniia proektami stroitel'stva i ekspluatatsii energoeffektivnykh zhilykh domov [Implementing digital project management of construction and operation of energy-efficient residential buildings]. Nauka i tekhnika, 2021, vol. 20, no. 1, pp. 66-74.
13. Chazov E. L., Grakhov V. P., Simchenko O. L. Metodicheskii instrumentarii otsenki effektivnosti proektov kapital'nogo stroitel'stva neftedobyvaiushchikh predpriiatii [Methodological tools for evaluating effectiveness of capital construction projects of oil producing enterprises]. Nauka i tekhnika, 2021, vol. 20, no. 1, pp. 75-82.
14. Kushner M. A., Kushner A. A., Dubinina N. A., Michurina O. Iu. Sovershenstvovanie protsessov formirovaniia investitsionnoi programmy neftedobyvaiushchei kompanii na osnove tsifrovykh instrumentov biznes-analiza [Improving processes of forming investment program of oil producing company based on digital business analysis tools]. Vestnik Astrakhanskogo gosudarstvennogo tekhnicheskogo universiteta. Seriia: Ekonomika, 2022, no. 4, pp. 43-50.
15. Kamdina L. V., Simchenko O. L. Otsenka ekonomicheskoi effektivnosti raboty neftedobyvaiushchei kompanii v usloviiakh perekhoda na rezhim s nalogom na dobavlennyi dokhod [Evaluation of economic efficiency of oil company in transition to regime with tax on added income]. Vestnik Kemerovskogo gosudarstvennogo universiteta. Seriia: Politicheskie, sotsiologicheskie i ekonomicheskie nauki, 2022, vol. 7, no. 4 (26), pp. 529-535.



