Russian Federation
The article highlights the urgent problem of corrosion protection monitoring of sea-going vessels and ships. Nowadays, the ship teams provide the control by measuring the potential of the ship hull using reference electrodes. There are given the results of monitoring the corrosion protection of the hull of the sea-going vessel PM-15 project No. 304/III. The control system is based on the results of measuring the potential of the ship hull. The measurements were taken using a standard silver chloride reference electrode (SCE) and two nonstandard electrodes made of galvanized steel. In manufacturing the non-standard reference electrodes there were taken into account the requests of the crews of sea-going vessels of the Kamchatka fleet. Testing the reference electrodes of galvanized steel proves that the results of measuring the potential of the ship hull can be classified as accurate measurements in accordance with GOST R 8.736-2011. The measuring results are quite stable according to GOST R 8.736-2011. It has been stated that the cost of CSE is several times higher than the cost of reference electrodes made of galvanized steel. The process of storing and transporting CSE is more labour-intensive compared to the galvanized steel reference electrodes. The galvanized steel reference electrodes provided for protecting the marine hulls from corrosion are recommended for use. It has been inferred that manufacture and application of non-standard reference electrodes on ships can be provided by ship repair crews. The study results can be used by the crews of sea-going vessels to control the protection of ship hulls against corrosion.
monitoring the corrosion protection of sea-going vessels, silver chloride reference electrode, zinc reference electrode, measuring ship hull potential, accuracy of ship hull potential measuring results, availability of meas-urement results
Введение
Контроль защищенности от коррозии морских судов и кораблей является важной государственной задачей [1–3]. Данный контроль экипажи судов выполняют методом измерения потенциала корпуса судна [4–6]. Потенциал корпуса измеряют с помощью электродов сравнения [4–6]. Исследователь К. А. Чендлер [7] выделяет следующие основные виды электродов сравнения:
1) каломельный;
2) хлорсеребряный (ХСЭ);
3) медно-сульфатный;
4) цинковый.
По мнению К. А. Чендлера, цинковый электрод сравнения «…не очень точен, но надежен при длительном применении» [7, с. 236].
Все вышеперечисленные электроды сравнения также рассмотрены в международном стандарте [8]:
– ХСЭ сравнения является наиболее широко используемым электродом;
– медно-сульфатный электрод недостаточно стабилен в морской воде, не рекомендуется для использования в морской воде;
– цинковые электроды менее точные, чем ХСЭ;
– каломельный электрод более подходит для лабораторных измерений.
Мнения К. А. Чендлера и других авторов повлияли на разработчиков российских стандартов [3–6]
по защите морских судов от коррозии. В этих стандартах рекомендовано использовать в качестве электрода сравнения только ХСЭ. Согласно
ВСН 39-84 «… в качестве датчиков автоматизированных систем катодной защиты следует использовать стационарно установленные ХСЭ» [9, с. 6].
Основываясь на результатах многочисленных исследований [10–16], мы считаем, что ХСЭ
не является надежным электродом сравнения для морских судов и кораблей [11], поэтому экипажи судов не используют ХСЭ. В работе [12] показано, что на морских судах можно использовать цинковые электроды сравнения, отличающиеся удобностью в эксплуатации. Для привлечения внимания экипажей морских судов к цинковым электродам сравнения необходимо минимально упростить
и удешевить технологию изготовления этих электродов. Кроме того, необходимо отказаться от использования импортного химически чистого цинка.
В статье рассмотрен один их подходов к совершенствованию технологии изготовления цинковых электродов сравнения для морских судов.
Цель статьи – обмен опытом, необходимым для изготовления цинковых электродов сравнения на морских судах и кораблях.
Экспериментальная часть
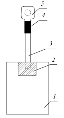
Для достижения поставленной цели нами изготовлен цинковый электрод сравнения из оцинкованного стального листа. Второй цинковый электрод был изготовлен из перфорированной оцинкованной крепежной пластины. Эти крепежные оцинкованные пластины продаются в любом магазине метизных изделий. Стоимость данных пластин около 60 руб. Конструкция цинковых электродов приведена на рис. 1.
Устройство содержит электрод, выполненный из оцинкованной стали 1, к которому припаян измерительный кабель 3, при этом место пайки 2 защищено клеем ВК 9 или аналогичным; к свободному концу измерительного кабеля 3 припаян наконечник кабеля 4, при этом место пайки изолировано с помощью термоусаживаемой трубки 5. Схема подключения электродов сравнения при контроле коррозионной защиты корпуса судна представлена на рис. 2.

Рис. 1. Конструкция цинковых электродов, используемых в эксперименте для контроля защищенности
от коррозии судов и кораблей: 1 – электрод, выполненный из оцинкованной стали;
2 – место пайки измерительного кабеля, защищенное клеем ВК 9 или аналогичным; 3 – измерительный кабель;
4 – наконечник измерительного кабеля; 5 – термоусаживаемая трубка
Fig. 1. Design of zinc electrodes used in the experiment to control the corrosion protection of ships and vessels:
1 – electrode made of galvanized steel; 2 – place for soldering the measuring cable protected with VK 9 glue (or similar);
3 – measuring cable; 4 – tip of the measuring cable; 5 – heat-shrinkable tube

Рис. 2. Схема подключения электродов при контроле коррозионной защиты судна: 1 – корпус судна или корабля;
2 – фальшборт; 3 – электроизмерительный прибор (милливольтметр); 4 – прижимной контакт;
5 – электрод сравнения; 6 – морская вода
Fig. 2. Layout of connecting electrodes when monitoring the ship corrosion protection: 1 – ship hull; 2 – bulwark;
3 – electrical measuring device (millivoltmeter); 4 – clamping contact; 5 – reference electrode; 6 – sea water
Эксплуатация происходит следующим образом:
– электрод сравнения с помощью кабельного наконечника подключают к измерительному прибору, аналогичное соединение – к милливольтметру;
– милливольтметр с помощью дополнительного измерительного кабеля, снабженного прижимным контактом, присоединяют к фальшборту судна;
– электрод сравнения погружают в морскую воду на глубину 0,5–1 м, при этом расстояние между электродом сравнения и корпусом судна не должно превышать 2 м;
– включают переносной милливольтметр и снимают показания прибора (не менее трех единичных показаний), при этом интервал времени между снятиями показаний – 5 с;
– при эффективной работе протекторной защиты показания милливольтметра должны находиться в интервале значений от –250 до +50 мВ для цинкового электрода.
Стоит отметить, что для присоединения оцинкованной пластины к медному электромонтажному проводу можно использовать болтовое соединение, изготовленное также из оцинкованной стали, или разъемное соединение. С помощью самодельных цинковых электродов № 1, 2 и ХСЭ сравнения
№ 3 контролировали защищенность корпуса судна ПМ-15 проекта № 304/III («Плавучая мастерская») по методике, приведенной в работах [17–21]. Эксперимент был выполнен в период с 20.05.2022 по 17.06.2022. Судно находилось в г. Петропавловске-Камчатском в стояночном режиме в торговом порту у пирса № 13. Восстановительные работы по корпусу судна в доке последний раз осуществлялись
в 1990 г. Оценивали состояние коррозионной защиты корпуса судна согласно рекомендациям, описанным в работах [17–21]. Измерения проводили каждым электродом последовательно с помощью
50 измерений, которые заносились в таблицу. Точность обработанных измерений оценивали с помощью коэффициента их вариации V, % [22]. Для статистической обработки результатов эксперимента использовали программное обеспечение
Microsoft Office Excel 365: 2002 (16.0.12527.20278).
Результаты исследований и их обсуждение
Результаты вариационных вычислений и полученного контроля коррозионных измерений при помощи различных электродов на судне типа «Плавучая мастерская» № 15 (ПМ-15) приведены
в таблице (Uср – среднее арифметическое, мВ;
R – размах вариации; d – среднее линейное отклонение; D – дисперсия; σ – среднее квадратичное отклонение; Kd – линейный коэффициент вариации, %; Kr – коэффициент осцилляции, %; V – коэффициент вариации, %) и на рис. 3–5.
Результаты контроля защищенности от коррозии корпуса судна ПМ-15 с 20.05.2022 по 17.06.2022
Results of monitoring the corrosion protection of the hull of the vessel PM-15 in the period of 20.05.2022 - 17.06.2022
|
|
Результаты контроля потенциала корпуса судна U =, мВ, полученные с помощью электродов, в день |
||||||||||||||
|
Электрод № 1 |
Электрод № 2 |
Электрод № 3 |
|||||||||||||
|
№
Дата |
20.05.2022 |
27.05.2022 |
03.06.2022 |
10.06.2022 |
17.06.2022 |
20.05.2022 |
27.05.2022 |
03.06.2022 |
10.06.2022 |
17.06.2022 |
20.05.2022 |
27.05.2022 |
03.06.2022 |
10.06.2022 |
17.06.2022 |
|
1 |
–352 |
–361 |
–368 |
–371 |
–364 |
–347 |
–350 |
–356 |
–364 |
–360 |
643 |
641 |
638 |
633 |
640 |
|
2 |
–352 |
–361 |
–368 |
–371 |
–364 |
–348 |
–350 |
–356 |
–364 |
–360 |
643 |
641 |
638 |
633 |
640 |
|
3 |
–352 |
–361 |
–368 |
–371 |
–364 |
–348 |
–350 |
–356 |
–364 |
–360 |
643 |
641 |
638 |
633 |
640 |
|
4 |
–352 |
–361 |
–368 |
–371 |
–364 |
–348 |
–350 |
–356 |
–364 |
–360 |
643 |
641 |
638 |
633 |
640 |
|
5 |
–352 |
–361 |
–368 |
–371 |
–364 |
–348 |
–350 |
–356 |
–364 |
–360 |
642 |
641 |
638 |
633 |
640 |
|
6 |
–351 |
–361 |
–368 |
–371 |
–365 |
–348 |
–350 |
–356 |
–364 |
–360 |
642 |
641 |
638 |
633 |
640 |
|
7 |
–352 |
–361 |
–368 |
–371 |
–364 |
–348 |
–350 |
–356 |
–364 |
–360 |
641 |
640 |
638 |
633 |
640 |
|
8 |
–351 |
–361 |
–368 |
–371 |
–364 |
–348 |
–350 |
–356 |
–364 |
–360 |
642 |
640 |
638 |
633 |
640 |
|
9 |
–351 |
–361 |
–368 |
–371 |
–364 |
–347 |
–351 |
–356 |
–364 |
–360 |
642 |
640 |
638 |
633 |
640 |
|
10 |
–352 |
–360 |
–368 |
–371 |
–364 |
–347 |
–350 |
–356 |
–364 |
–360 |
641 |
640 |
638 |
633 |
640 |
|
11 |
–350 |
–361 |
–368 |
–371 |
–363 |
–347 |
–350 |
–356 |
–364 |
–360 |
641 |
640 |
638 |
633 |
641 |
|
12 |
–351 |
–361 |
–368 |
–371 |
–364 |
–347 |
–350 |
–356 |
–364 |
–360 |
641 |
640 |
638 |
633 |
641 |
|
13 |
–350 |
–360 |
–368 |
–371 |
–364 |
–346 |
–350 |
–356 |
–364 |
–360 |
642 |
640 |
638 |
633 |
641 |
|
14 |
–351 |
–361 |
–368 |
–370 |
–363 |
–346 |
–350 |
–356 |
–364 |
–360 |
642 |
640 |
638 |
633 |
640 |
|
15 |
–351 |
–360 |
–368 |
–370 |
–364 |
–346 |
–350 |
–356 |
–363 |
–361 |
641 |
640 |
638 |
633 |
640 |
|
16 |
–352 |
–360 |
–368 |
–370 |
–364 |
–346 |
–350 |
–356 |
–363 |
–360 |
641 |
640 |
638 |
633 |
641 |
|
17 |
–352 |
–360 |
–368 |
–370 |
–364 |
–347 |
–350 |
–356 |
–363 |
–360 |
641 |
640 |
638 |
633 |
640 |
|
18 |
–351 |
–360 |
–369 |
–370 |
–364 |
–347 |
–350 |
–356 |
–363 |
–361 |
642 |
640 |
638 |
633 |
640 |
|
19 |
–352 |
–360 |
–368 |
–370 |
–363 |
–347 |
–350 |
–356 |
–363 |
–361 |
641 |
640 |
638 |
633 |
640 |
|
20 |
–351 |
–360 |
–369 |
–370 |
–363 |
–347 |
–350 |
–356 |
–363 |
–361 |
641 |
640 |
638 |
633 |
640 |
|
21 |
–351 |
–361 |
–369 |
–370 |
–363 |
–347 |
–351 |
–356 |
–363 |
–360 |
642 |
640 |
638 |
633 |
640 |
|
22 |
–351 |
–361 |
–369 |
–370 |
–363 |
–347 |
–351 |
–356 |
–363 |
–360 |
642 |
640 |
638 |
633 |
640 |
|
23 |
–351 |
–361 |
–369 |
–370 |
–364 |
–347 |
–350 |
–356 |
–363 |
–360 |
642 |
639 |
638 |
633 |
641 |
|
24 |
–352 |
–360 |
–368 |
–370 |
–364 |
–348 |
–350 |
–357 |
–363 |
–360 |
642 |
640 |
638 |
633 |
641 |
|
25 |
–351 |
–360 |
–369 |
–370 |
–363 |
–348 |
–350 |
–356 |
–363 |
–360 |
641 |
640 |
638 |
633 |
641 |
|
26 |
–351 |
–360 |
–369 |
–371 |
–363 |
–347 |
–350 |
–356 |
–362 |
–361 |
641 |
640 |
638 |
632 |
641 |
|
27 |
–351 |
–360 |
–369 |
–371 |
–363 |
–348 |
–351 |
–356 |
–362 |
–361 |
641 |
640 |
638 |
632 |
641 |
|
28 |
–352 |
–360 |
–369 |
–371 |
–363 |
–348 |
–351 |
–357 |
–362 |
–361 |
641 |
640 |
638 |
632 |
641 |
|
29 |
–352 |
–360 |
–369 |
–371 |
–363 |
–348 |
–351 |
–357 |
–362 |
–361 |
641 |
640 |
638 |
632 |
641 |
Окончание табл.
Ending of the Table
|
|
Результаты контроля потенциала корпуса судна U =, мВ, полученные с помощью электродов, в день |
||||||||||||||
|
Электрод № 1 |
Электрод № 2 |
Электрод № 3 |
|||||||||||||
|
№
Дата |
20.05.2022 |
27.05.2022 |
03.06.2022 |
10.06.2022 |
17.06.2022 |
20.05.2022 |
27.05.2022 |
03.06.2022 |
10.06.2022 |
17.06.2022 |
20.05.2022 |
27.05.2022 |
03.06.2022 |
10.06.2022 |
17.06.2022 |
|
30 |
–352 |
–359 |
–369 |
–371 |
–363 |
–348 |
–351 |
–357 |
–362 |
–361 |
641 |
639 |
638 |
633 |
641 |
|
31 |
–352 |
–360 |
–369 |
–371 |
–363 |
–348 |
–351 |
–356 |
–363 |
–361 |
640 |
639 |
637 |
633 |
641 |
|
32 |
–352 |
–360 |
–369 |
–371 |
–363 |
–347 |
–350 |
–357 |
–363 |
–360 |
640 |
639 |
638 |
633 |
641 |
|
33 |
–353 |
–360 |
–369 |
–370 |
–364 |
–347 |
–351 |
–357 |
–363 |
–360 |
640 |
640 |
638 |
633 |
641 |
|
34 |
–353 |
–359 |
–369 |
–370 |
–363 |
–347 |
–351 |
–357 |
–363 |
–359 |
640 |
640 |
638 |
632 |
640 |
|
35 |
–353 |
–359 |
–369 |
–370 |
–363 |
–347 |
–351 |
–357 |
–363 |
–360 |
641 |
639 |
638 |
632 |
640 |
|
36 |
–353 |
–360 |
–369 |
–370 |
–363 |
–347 |
–351 |
–357 |
–362 |
–360 |
640 |
639 |
638 |
632 |
640 |
|
37 |
–353 |
–360 |
–369 |
–371 |
–363 |
–347 |
–350 |
–357 |
–362 |
–360 |
640 |
639 |
638 |
632 |
640 |
|
38 |
–353 |
–360 |
–368 |
–371 |
–362 |
–347 |
–351 |
–357 |
–362 |
–359 |
641 |
639 |
638 |
632 |
640 |
|
39 |
–353 |
–359 |
–369 |
–371 |
–363 |
–348 |
–351 |
–356 |
–362 |
–360 |
641 |
639 |
638 |
632 |
640 |
|
40 |
–351 |
–360 |
–369 |
–371 |
–363 |
–347 |
–351 |
–357 |
–362 |
–360 |
640 |
639 |
638 |
632 |
640 |
|
41 |
–352 |
–359 |
–369 |
–371 |
–363 |
–347 |
–351 |
–357 |
–362 |
–360 |
640 |
640 |
637 |
632 |
640 |
|
42 |
–353 |
–359 |
–369 |
–371 |
–363 |
–347 |
–351 |
–357 |
–362 |
–359 |
640 |
640 |
637 |
632 |
640 |
|
43 |
–352 |
–359 |
–369 |
–371 |
–363 |
–348 |
–351 |
–357 |
–362 |
–360 |
640 |
639 |
637 |
632 |
640 |
|
44 |
–352 |
–359 |
–369 |
–371 |
–362 |
–348 |
–351 |
–357 |
–362 |
–360 |
641 |
639 |
637 |
632 |
640 |
|
45 |
–353 |
–359 |
–369 |
–371 |
–362 |
–348 |
–351 |
–357 |
–362 |
–359 |
641 |
639 |
637 |
632 |
640 |
|
46 |
–353 |
–359 |
–369 |
–371 |
–363 |
–348 |
–352 |
–358 |
–362 |
–360 |
641 |
639 |
637 |
632 |
640 |
|
47 |
–353 |
–359 |
–368 |
–371 |
–362 |
–347 |
–351 |
–357 |
–362 |
–359 |
640 |
640 |
637 |
632 |
640 |
|
48 |
–353 |
–359 |
–369 |
–371 |
–362 |
–347 |
–351 |
–357 |
–362 |
–359 |
641 |
639 |
637 |
632 |
640 |
|
49 |
–353 |
–359 |
–369 |
–371 |
–362 |
–347 |
–351 |
–357 |
–362 |
–359 |
640 |
639 |
637 |
632 |
640 |
|
50 |
–353 |
–359 |
–369 |
–371 |
–362 |
–347 |
–351 |
–357 |
–362 |
–359 |
640 |
639 |
637 |
632 |
640 |
|
Uср, |
–351,90 |
–360,02 |
–368,58 |
–370,68 |
–363,26 |
–347,30 |
–350,52 |
–356,46 |
–362,88 |
–360,04 |
641,12 |
639,78 |
637,78 |
632,58 |
640,30 |
|
R |
3,00 |
2,00 |
1,00 |
1,00 |
3,00 |
2,00 |
2,00 |
2,00 |
2,00 |
2,00 |
3,00 |
2,00 |
1,00 |
1,00 |
1,00 |
|
d |
0,69 |
0,59 |
0,49 |
0,44 |
0,60 |
0,53 |
0,52 |
0,52 |
0,70 |
0,38 |
0,69 |
0,53 |
0,34 |
0,49 |
0,42 |
|
D |
0,73 |
0,58 |
0,24 |
0,22 |
0,51 |
0,37 |
0,29 |
0,29 |
0,67 |
0,36 |
0,79 |
0,41 |
0,17 |
0,24 |
0,21 |
|
σ |
0,86 |
0,77 |
0,50 |
0,47 |
0,72 |
0,61 |
0,54 |
0,54 |
0,82 |
0,60 |
0,90 |
0,65 |
0,42 |
0,50 |
0,46 |
|
Kd, % |
0,20 |
0,16 |
0,13 |
0,12 |
0,17 |
0,15 |
0,15 |
0,14 |
0,19 |
0,11 |
0,11 |
0,08 |
0,05 |
0,08 |
0,07 |
|
Kr, % |
0,85 |
0,56 |
0,27 |
0,27 |
0,83 |
0,58 |
0,57 |
0,56 |
0,55 |
0,56 |
0,47 |
0,31 |
0,16 |
0,16 |
0,16 |
|
V, % |
0,25 |
0,21 |
0,14 |
0,13 |
0,20 |
0,18 |
0,16 |
0,15 |
0,23 |
0,17 |
0,14 |
0,10 |
0,07 |
0,08 |
0,07 |

Рис. 3. Динамика измерений результатов потенциала в период с 20.05.2022 по 17.06.2022,
полученных с помощью электрода № 1 из оцинкованной стали
Fig. 3. Dynamics of measurements of potential results in the period of 20.05.2022 - 17.06.2022
obtained by using a galvanized steel electrode No. 1

Рис. 4. Динамика измерений результатов потенциала в период с 20.05.2022 по 17.06.2022,
полученных с помощью электрода № 2 из оцинкованной стали
Fig. 4. Dynamics of measurements of potential results in the period of 20.05.2022 - 17.06.2022
obtained by using galvanized steel electrode No. 2

Рис. 5. Динамика измерений результатов потенциала в период с 20.05.2022 по 17.06.2022,
полученных с помощью электрода № 3 (ХСЭ)
Fig. 5. Dynamics of measurements of potential results in the period of 20.05.2022 - 17.06.2022
obtained by using electrode No. 3 (silver chloride)
Согласно результатам эксперимента, приведенным в таблице, совокупности всех измерений однородны, степени рассеивания данных незначительны, т. к. V < 10 %. Динамика изменений результатов потенциала в разные сутки, полученных с помощью разных электродов сравнения, проиллюстрирована на рис. 3–5.
Результаты контроля защищенности от коррозии корпуса судна ПМ-15 проекта № 304/III («Плавучая мастерская»), полученные с помощью электродов сравнения № 1 и 2, выполненных из оцинкованной стали, достаточно стабильны и повторяемы [22]. О правильности показаний свидетельствуют результаты, выполненные электродом сравнения № 3 (ХСЭ) [5, 6], т. к. в эксперименте он выполнял роль контрольного. Полученные результаты электродов сравнения № 1 и 2 указывают на плохую защищенность корпуса судна ПМ-15 [5, 6] в течение всего периода измерений, что сходится
с показаниями электрода сравнения № 3 (ХСЭ). Стоит отметить, что стоимость ХСЭ в разы выше стоимости электродов сравнения, изготовленных из оцинкованной стали. Следует учитывать более трудозатратный процесс хранения и транспортировки ХСЭ по сравнению с электродами сравнения, изготовленными из оцинкованной стали. Таким образом, целесообразно рекомендовать к использованию электроды сравнения, изготовленные из оцинкованной стали.
Выводы
1. Для контроля защищенности корпусов морских судов от коррозии можно использовать электроды сравнения, выполненные из оцинкованной стали.
2. Эксплуатировать и изготавливать нестандартные электроды сравнения на судах могут экипажи судов или судоремонтные бригады.
1. Zobochev Yu. E., Solinskaya E. V. Zaschita sudov ot korrozii i obrastaniya. M.: Transport, 1984. 174 s.
2. Shvecov V. A., Belov O. A., Belozerov P. A., Shun'kin D. V. Kontrol' sistem protektornoy zaschity stal'nyh sudov i korabley: monogr. Petropavlovsk-Kamchatskiy: Izd-vo KamchatGTU, 2016. 109 s.
3. Korobcov I. M. Tehnicheskoe obsluzhivanie i remont flota. M.: Transport, 1975. 195 s.
4. RD 31.28.10-97. Kompleksnye metody zaschity sudovyh konstrukciy ot korrozii. URL: http://docs.cntd.ru/document/1200049727 (data obrascheniya: 11.09.2022).
5. GOST 9.056-75. Stal'nye korpusa korabley i sudov. Obschie trebovaniya k elektrohimicheskoy zaschite pri dolgovremennom stoyanochnom rezhime. URL: http://docs.cntd.ru/document/1200015017 (data obrascheniya: 11.09.2022).
6. GOST 26501-85. Korpusa morskih sudov. Obschie trebovaniya k elektrohimicheskoy zaschite. M.: Izd-vo standartov, 1985. 7 s.
7. Chendler K. A. Korroziya sudov i morskih sooruzheniy / per. s angl. I. A. Barhatova, V. I. Lemkova. L.: Sudostroenie, 1988. 320 s.
8. ISO 15589-2-12. Petroleum, petrochemical and natural gas industries - Cathodic protection of pipeline transportation systems. URL: https://www.iso.org/standard/51992.html (data obrascheniya: 14.09.2022).
9. VSN 39-84. Katodnaya zaschita ot korrozii oborudovaniya i metallicheskih konstrukciy gidrotehnicheskih sooruzheniy. L.: Minenergo SSSR, 1985. 35 s.
10. Yastrebov D. P., Belov O. A., Shvecov V. A., Belavina O. A. O vybore elektrodov dlya kontrolya sistem protektornoy zaschity stal'nyh sudov i korabley // Vestn. Astrahan. gos. tehn. un-ta. Ser.: Morskaya tehnika i tehnologiya. 2019. № 4. S. 39-45.
11. Yastrebov D. P., Belov O. A., Shvecov V. A., Ushakevich A. P., Kuznecov G. V. O celesoobraznosti ispol'zovaniya hlorserebryanyh elektrodov dlya kontrolya sistem protektornoy zaschity stal'nogo korpusa sudna // Tehnicheskaya ekspluataciya vodnogo transporta: problemy i puti razvitiya: materialy II Mezhdunar. nauch.-prakt. konf. (Petropavlovsk-Kamchatskiy, 23-25 oktyabrya 2019 g.). Petropavlovsk-Kamchatskiy: Izd-vo KamchatGTU, 2020. S. 121-124.
12. Yastrebov D. P., Shun'kin D. V., Rogozhnikov A. O., Kuznecov G. V. K voprosu ispol'zovaniya cinkovyh elektrodov dlya kontrolya protektornoy zaschity sudov i korabley // Vestn. Astrahan. gos. tehn. un-ta. Ser.: Morskaya tehnika i tehnologiya. 2021. № 2. S. 16-23.
13. Yastrebov D. P., Belov O. A., Shvecov V. A., Belavina O. A., Zaycev S. A. K voprosu ispol'zovaniya stal'nyh plastin dlya kontrolya protektornoy zaschity korpusov sudov i korabley // Tehnicheskaya ekspluataciya vodnogo transporta: problemy i puti razvitiya: materialy II Mezhdunar. nauch.-prakt. konf. (Petropavlovsk-Kamchatskiy, 23-25 oktyabrya 2019 g.). Petropavlovsk-Kamchatskiy: Izd-vo KamchatGTU, 2020. S. 125-129.
14. Yastrebov D. P., Belov O. A., Shvecov V. A., Tarabanov B. V., Zaycev S. A. K voprosu ispol'zovaniya elektrodov iz sudokorpusnoy stali dlya kontrolya zaschischennosti ot korrozii korpusov sudov i korabley // Vestn. Astrahan. gos. tehn. un-ta. Ser.: Morskaya tehnika i tehnologiya. 2020. № 2. S. 15-21.
15. Yastrebov D. P., Belov O. A., Shvecov V. A., Ushakevich A. P., Kuznecov G. V., Tarabanov B. V. K voprosu ispol'zovaniya alyuminievyh elektrodov dlya kontrolya zaschischennosti ot korrozii stal'nyh korpusov sudov i korabley // Vestn. Astrahan. gos. tehn. un-ta. Ser.: Morskaya tehnika i tehnologiya. 2021. № 3. S. 23-32.
16. Yastrebov D. P. K voprosu ispol'zovaniya mednyh elektrodov dlya kontrolya zaschischennosti ot korrozii stal'nyh korpusov sudov i korabley // Vestn. Astrahan. gos. tehn. un-ta. Ser.: Morskaya tehnika i tehnologiya. 2021. № 4. S. 43-51.
17. Belov O. A., Shvecov V. A., Yastrebov D. P. Obosnovanie optimal'noy periodichnosti kontrolya raboty protektornoy zaschity stal'nyh korpusov sudov // Ekspluataciya mor. transp. 2017. № 1 (82). S. 41-48.
18. Belov O. A., Shvecov V. A., Yastrebov D. P., Belavina O. A., Shun'kin D. V. Vnedrenie usovershenstvovannogo sposoba kontrolya sistem protektornoy zaschity stal'nyh korpusov sudov Kamchatskogo flota // Vestn. Kamchat. gos. tehn. un-ta. 2017. № 39. S. 6-11.
19. Shvecov V. A., Belov O. A., Belavina O. A., Yastrebov D. P. Obosnovanie vozmozhnosti isklyucheniya vneshnego osmotra sistem protektornoy zaschity stal'nyh korpusov sudov // Vestn. Astrahan. gos. tehn. un-ta. Ser.: Morskaya tehnika i tehnologiya. 2017. № 1. S. 29-38.
20. Belozerov P. A., Shvecov V. A., Belavina O. A., Shun'kin D. V., Korostylev D. V., Pahomov V. A., Malinovskiy S. A. Obosnovanie sposoba vybora kontrol'nyh tochek dlya izmereniya zaschitnogo potenciala stal'nyh korpusov korabley i sudov // Vestn. Kamchat. gos. tehn. un-ta. 2014. № 28. S. 6-11.
21. Shvecov V. A., Belozerov P. A., Belavina O. A., Shun'kin D. V., Malinovskiy S. A. Obosnovanie vybora neobhodimogo chisla parallel'nyh izmereniy zaschitnogo potenciala stal'nyh korpusov korabley i sudov v kontrol'noy tochke // Vestn. Kamchat. gos. tehn. un-ta. 2016. № 35. S. 40-46.
22. GOST R 8.736-2011. Gosudarstvennaya sistema obespecheniya edinstva izmereniy (GSI). Izmereniya pryamye mnogokratnye. Metody obrabotki rezul'tatov izmereniy. Osnovnye polozheniya. URL: http://docs.cntd.ru/document/1200089016 (data obrascheniya: 14.09.2022).



