Russian Federation
Russian Federation
Russian Federation
Russian Federation
Russian Federation
When studying the characteristics of the outboard motors with capacity of more than 10 kW weighing over 100 kg at full equipment, the Department of Water Transport Operation of Astrakhan State Technical University needed to change the design of a small experimental tank. Previously, the small experimental tank was adapted for testing outboard motors with capacity not exceeding 8 l/s - 6 kW and weight up to 25 kg having such technical indicators as the screw stop, the developed power of the outboard motor, tank water temperature, exhaust gas temperature, fuel consumption, rate of heating the aquatic environment during the engine operation, the number of revolutions of the engine crankshaft, the number of revolutions of the screw, with possibility of environmental studies of noise levels, vibration levels, as well as harmful discharges and exhaust emissions of outboard motors by sampling water and gases. In addition to sensors and devices designed to measure technical and environmental indicators, the small experimental tank was previously equipped with an auxiliary equipment: supply and exhaust ventilation, a water level gauge in a basin tank, a steam compressor refrigeration unit, a water supply and drainage system with sampling fittings, a gas sampling probe, a rotary rod for installing a noise meter, a platform with steps, general and local lighting fixtures. There has been illustrated a layout of an experimental tank covered with heat-insulating paint from the outside. In the course of changing the structure there was installed a lifting boom and an external transom. The tank bowl was upgraded by installing a bypass pipe. The described technical solutions have expanded the possibilities of the small experimental tank in conducting the research on outboard motors.
small experimental tank, gasoline outboard motor, diesel outboard motor, small vessel, transom, screw stop
Введение
Для реализации научно-исследовательских работ по комплексным испытаниям дизельных подвесных лодочных моторов (ПЛМ) в рамках хозяйственного договора между ФГБОУ ВО «Астраханский государственный технический университет» (АГТУ) и научно-производственной компанией «Куппер» потребовалось изменение конструкции малого опытового бассейна (МОБ), имеющего патент на полезную модель RU 196596 U1, 06.03.2020 [1], построенного на базе учебно-научно-производственной лаборатории «Подвесные лодочные моторы» кафедры «Эксплуатация водного транспорта» АГТУ. В связи с потребностью заказчика, предоставившего горюче-смазочные материалы собственного производства, провести сравнительные испытания с рекомендованными технической документацией моторной
и трансмиссионной смазками на дизельной судовой энергетической установке, выполненной в виде ПЛМ с мощностью, превышающей 19 кВт, появились сложности в получении технических параметров, таких как упор винта, развиваемая мощность ПЛМ, скорость нагрева воды теплотой, генерируемой ПЛМ внутри бассейна, температура отработавших газов, расход топлива, частота вращения коленчатого вала двигателя, частота вращения винта. Кроме того, обнаружены сложности в экологических исследованиях уровня шума, уровня вибрации,
а также вредных сбросов и выбросов отработавших газов ПЛМ [2] путем отбора проб воды и газов. Перечисленные проблемы обусловлены следующими причинами:
– невозможность определения частоты вращения коленчатого вала штатным оборудованием МОБ, предназначенным для ПЛМ, с искровым зажиганием;
– значительный вес ПЛМ, что усложняет многоразовую установку и съем мотора на подвижный транец МОБ в процессе эксперимента;
– большая мощность ПЛМ, что увеличивает нагрузку на подвижный транец МОБ;
– неспособность развить номинальную мощность ПЛМ ввиду малого количества воды в МОБ и отсутствия создаваемого и набегающего потока;
– отсутствие внешнего транца для проведения технического обслуживания и отстоя ПЛМ
при проведении исследований температуры выхлопных газов;
– отсутствие герметичной крышки, способной выдержать создаваемый поток посредством винта.
Для решения вышеуказанных проблем МОБ был дополнительно укомплектован лазерным тахометром, контактным термометром, виброметром, поворотной подъемной стрелой, снабженной ручной лебедкой, металлическим тросом с крюком чалочного типа и комплектом строп для захвата ПЛМ. Также был усилен подвижный транец путем установки распорок и устройством крючкообразных ограничителей, охватывающих кромку МОБ
и ограничивающих поднятие мотора с транцем относительно МОБ при его работе, установлена обводная труба для циркуляции потока воды, создаваемого винтом ПЛМ, устроен внешний транец на расстоянии вылета поворотной стрелы, устроена герметичная крышка. Цель изменения конструкции заключалась в усовершенствовании конструкции МОБ для расширения видов и объемов проводимых комплексных испытаний ПЛМ в лабораторных условиях.
Документация, используемая при проведении изменения конструкции малого опытового бассейна для комплексных испытаний подвесных лодочных моторов
1. Технический регламент таможенного союза ТР ТС 026/2012 «О безопасности маломерных
судов» [3].
2. ГОСТ 28556-2016 «Моторы лодочные
подвесные. Общие требования безопасности» [4].
3. Инструкция по эксплуатации ПЛМ
Yanmar D27 [5].
4. Моторы лодочные. Программа и методика измерения объемных долей оксида углерода (СО)
и суммы углеводородов (СН) в отработавших газах моторов лодочных при проведении технического освидетельствования (770020000 ПМ 28, Государственная инспекция по маломерным
судам (ГИМС) [6]).
5. ГОСТ Р 52517-2005 «Двигатели внутреннего сгорания поршневые. Характеристики. Часть 1. Стандартные исходные условия, объявление мощности, расхода топлива и смазочного масла. Методы испытаний» [7].
6. ГОСТ 305-2013 «Топливо дизельное. Технические условия» [8].
Описание обновленной конструкции малого опытового бассейна
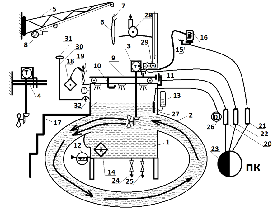
Форма емкости МОБ представляет собой сосуд 1 в виде прямоугольного параллелепипеда из металлических стальных листов с отверстиями диаметром 325 мм, к которым во фронтальной и тыльной стороне бассейна сварным швом присоединены отводы обводной трубы 2. Обводная труба состоит из четырех отводов диаметром 325 мм и прямого участка трубы диаметром 325 мм, собранных
в виде овала общей протяженностью 3 760 мм, смонтированного на МОБ в горизонтальной проекции. Данную конструкцию заполняют водой через трубопровод холодного водоснабжения с вмонтированным счетчиком контроля потребленного объема воды МОБ. Для удобства передвижения между ПЛМ, датчиками и приборами обводная труба сверху закрыта пайолом. Подвесной лодочный мотор 3 предварительно устанавливается на внешний транец 4, выполненный из однотаврового швеллера. Поворотной стрелой 5, изменяя горизонтальный угол, подводят к месту отстоя ПЛМ, обхватывают стропой 6 ПЛМ через технологическое пространство между дейдвудом и транцевым кронштейном со струбцинами и посредством ее вывешивают ПЛМ на крюк чалочного типа 7, находящийся на металлическом стальном оцинкованном тросе ручной лебедки 8 грузоподъемностью 700 кг. Подвесной лодочный мотор вертикально подтягивают к блоку стрелы и перемещают, изменяя горизонтальный угол к подвижному транцу 9, выполненному из профильной трубы в виде тележки на четырех колесах с крючкообразными ограничителями 10, охватывающими кромку МОБ и ограничивающими поднятие мотора с транцем относительно МОБ при его работе. Транец укомплектован сменной металлической прокладкой, выполненной в виде клина для изменения угла атаки винта, предназначенного для направления создаваемого винтом потока к центру канала обводной трубы, данная металлическая прокладка предназначена для испытания моторов с длиной дейдвуда менее стандарта: L = 508 мм. К подвижному транцу ПЛМ притягивается двумя струбцинами.
При включении скорости на работающем ПЛМ в различных режимах создается упор винта, ПЛМ двигается вперед, увлекая за собой подвижный транец, который в свою очередь создает давление на тензометрический датчик упора винта 11. Залив воды в МОБ производится из системы холодного водоснабжения и контролируется счетчиком объема воды 12. Для контроля за заданным уровнем воды в пределах уровня антикавитационной плиты ПЛМ, достаточного для полноценной работы водяного насоса системы охлаждения ДВС, и для создания упора винта в МОБ установлен уровнемер 13, работающий по принципу сообщающихся сосудов. Для модуляции летнего и зимнего сезонов эксплуатации маломерного судна с ПЛМ на днище корпуса МОБ установлен внутренний блок теплообменного аппарата 14 парокомпрессорной холодильной установки, внешний блок расположен за пределами МОБ и соединен трассой трубопроводов. Данный элемент МОБ предназначен для охлаждения и нагрева водной среды
в МОБ. Вне основной конструкции МОБ установлен тензометрический (весовой) датчик 15 с расположенной на нем стальной прямоугольной площадкой для размещения расходной емкости 16
с топливным гибким патрубком, подающим топливо к ПЛМ. Для удобства работы с приборами на уровне установленного ПЛМ собрана подставная платформа со ступенями 17. Для анализа СО, СН, СО2, СН, NO в составе вредных выбросов в атмосферу МОБ оборудован газоанализатором «Инфракар М-3.01» 18, который применяется, в том числе, специалистами ГИМС МЧС России по субъектам Российской Федерации в целях определения вредных выбросов в отработавших газах ПЛМ маломерных судов. Зонд газоанализатора вставлен
в сифонообразную конструкцию 19, установленную в верхней части чаши МОБ. В щите аппаратуры установлены логистические контроллеры упора винта 20, весовой логистический контроллер 21, логистический контроллер тахометра 22. Для обработки в программе «ТестМотор» (см. свидетельство
о государственной регистрации программы для ЭВМ № 20186185338) к персональному компьютеру 23 сводятся все данные с датчика тахометра, весового датчика и датчика упора винта, предварительно обработанные логистическими контроллерами. Поскольку специфика экспериментов на экологические исследования сбросов выхлопных газов в водную среду требует быстрой смены воды
в МОБ, система дренирования 24 также претерпела изменения, из-за увеличившегося объема воды
с 0,55 до 0,79 м3 в результате монтажа обводной трубы потребовалось увеличить диаметр сбросной трубы до 63 мм. Для отбора проб воды из МОБ
во время испытаний предусмотрен сбросной штуцер 25. В коробе блока измерительной аппаратуры смонтированы три термометра, два цифровых
и один аналоговый 26, с термопарами внутри емкости 27. В нижней части МОБ установлено окно
в форме полусферы для наблюдения за барботажем. Сверху МОБ накрывается зондом вытяжной вентиляции 28, служащим для удаления отработавших газов из помещения лаборатории. Вытяжной вентиляционный зонд закреплен на зигзагообразной выдвигающейся штанге, которая в свою очередь закреплена на кронштейне, позволяющем сдвигать вытяжной вентиляционный зонд, тем самым освобождая пространство для вертикального подъема и спуска двигателя на подвижный транец. Обдув ПЛМ осуществляется трубопроводом местной приточной вентиляции 29, которая посредством подвижных муфтовых соединений может менять направление обдува или (при необходимости) удаляться со стенда МОБ.
На внешней стенке бассейна со стороны румпельного управления ПЛМ на шарнире закреплена поворотная углообразная штанга 30 длиной 1 200 мм с металлической прищепкой для фиксации микрофона шумомера 31, угол горизонтального перемещения углообразной штанги контролируется транспортиром 32. Снаружи емкость и обводная труба покрыты теплоизоляционной краской. Схема МОБ приведена на рис. 1.

Рис. 1. Принципиальная схема малого опытового бассейна с измененной конструкцией
Fig. 1. Schematic diagram of the modernized small experimental tank
Объект исследования
В качестве объекта исследований был использован дизельный ПЛМ Yanmar D27. Общий вид ПЛМ Yanmar D27 представлен на рис. 2.
Основные технические характеристики ПЛМ Yanmar D27:
– мощность номинальная – 27 л.с (19,9 кВт);
– номинальная частота вращения – 4 500 об/мин;
– тип: четырехтактный;
– количество цилиндров – 3 шт.;
– диаметр цилиндра / ход поршня – 70/70 мм;
– система охлаждения – водяное;
– передаточное число редуктора – 1,846;
– тип масла для редуктора – SAE 80W-90;
– тип масла для двигателя – SAE 15W-40;
– система выпуска отработанных газов – через выхлопной патрубок под антикавитационной трубой;
– вес – около 100 кг;
– используемое топливо – дизельное топливо марки Л по ГОСТ 305-2013 «Топливо дизельное. Технические условия» [8].

Рис. 2. Общий вид подвесного лодочного
мотора Yanmar D27
Fig. 2. General view of the Yanmar D27 outboard motor
Применяемые материалы и устройства для изменения конструкции малого опытового
бассейна
Тахометр лазерный CEM AT-6. Для измерения частоты вращения коленчатого вала ПЛМ использовался тахометр CEM AT-6 (табл., рис. 3, а).
Технические характеристики тахометра CEM AT-6
Technical characteristics of the tachometer CEM AT-6
|
Параметр |
Значение |
|
ЖК-дисплей, разряд |
5 |
|
Диапазон измерения |
2–99 999 |
|
Разрешение, об/мин |
0,1 (от 2 до 9 999,99); |
|
Точность, % |
±0,05 |
|
Дальность |
50–500 |
|
Габаритные размеры, мм |
200 × 60 × 40 |
|
Вес, г |
220 |
Контактный термометр типа Testo-905-N1. Для контроля температуры окружающей среды, выхлопных газов ПЛМ Yanmar D27 и поверхностей МОБ использовался термометр стик-класса Testo-905-N1 (рис. 3, б) со следующими техническими характеристиками:
– тип зонда – тип K;
– диапазон измерений температуры: от –50
до +350 °C;
– кратковременная максимальная температура: +500 °С;
– погрешность измерений: ±1 °C в диапазоне температур от –50 до +99,9 °C и ±1 % от измеренного значения в остальном диапазоне;
– разрешение: 0,1 °C;
– внесен в Государственный реестр средств
измерений РФ (ГРСИ РФ);
– номер в ГРСИ РФ: 38736-08.

Рис. 3. Общий вид приборов:
а – тахометр лазерный CEM AT-6;
б – контактный термометр типа Testo-905-N1;
в – виброметр AR63B
Fig. 3. General view of the instruments:
a – laser tachometer CEM AT-6;
б – contact thermometer Testo-905-N1;
в – vibrometer AR63B
Виброметр AR63B. Для оценки среднеквадратичных уровней виброускорения, м/с2, на частоте колебаний 1 000 Гц на румпеле ПЛМ, транце крепления ПЛМ к МОБ и на поверхности МОБ применялся виброметр AR63B (рис. 3, в) с выносным датчиком, имеющим следующие технические
характеристики при измерении виброускорения:
– диапазон измерений: от 0,1 до 199,9 м/с2;
– разрешение: 0,1 м/с2;
– погрешность измерения: ±5 %;
– частотный диапазон: от 10 Гц до 1 кГц (низкочастотный диапазон), от 1 кГц до 15 кГц (высокочастотный диапазон).
Обводная труба (рис. 4) служит для модуляции движения маломерного судна, создавая набегающий и уходящий поток по ходу движение. Основная емкость при впадении в нее потока из обводной трубы служит успокоителем. В передней части бассейна и тыльной стороне сварным швом присоединены последовательно по два отвода обводной трубы. Обводная труба выполнена из прямошовной электросварной трубы диаметром 325 мм с толщиной стенки 8 мм. Целая конструкция состоит из четырех отводов диаметром 325 мм и прямого участка трубы диаметром 325 мм, собранных в виде овала общей протяженностью 3 760 мм, смонтированного на МОБ в горизонтальной проекции.

Рис. 4. Общий вид малого опытового бассейна: а – монтаж отводов; б – общий вид обводной трубы;
в – вид бассейна изнутри
Fig. 4. General view of the small experimental tank: a – outlets mounting; б – general view of the bypass pipe;
в – view of the tank from the inside
Подвижный транец. Полозья, по которым передвигается подвижный транец, были продлены за пределы МОБ для того, чтобы не снимать подвижный транец, мешающий работе батометра при сборе нефтяной пленки. Конструкция подвижного транца была усилена путем установки распорок и устройством крючкообразных ограничителей, охватывающих кромку МОБ и ограничивающих поднятие мотора с транцем относительно МОБ и при его работе.
Подъемная стрела проектировалась при изменении конструкции МОБ с целью создания возможности устанавливать на бассейн ПЛМ свыше 30 кг. Подъемная стрела выполнена из отдельных стержней стального уголка, соединяющихся в узлах и образующих геометрически неизменяемую систему. Данная конструкция выполнена в виде треугольника, который основанием закреплен
к вращающемуся кронштейну. На основании стрелы смонтирована ручная лебедка, по длине стрелы сварным соединением установлено два направляющих блока, по которым проходит стальной трос диаметром 8 мм с крючком чалочного типа на конце.
Внешний транец служит для отстоя ПЛМ в вертикальном состоянии, проведения технического обслуживания и экспериментов, связанных с измерением температуры выхлопных газов при запуске ПЛМ без охлаждающей жидкости («на сухую»). Внешний транец смонтирован на расстоянии удаленности вылета подъемной стрелы.
Герметичная крышка. По периметру внутренней стенки МОБ сварным швом был прикреплен равнополочный уголок (ширина полки – 30 мм), по всей длине горизонтальной полки был приклеен двухтрубчатый уплотнитель. В созданный уголком квадрат укладывается крышка с прорезью, повторяющей форму дейдвуда ПЛМ.
Процедура проведения экспериментов с подвесным лодочным мотором Yanmar D27 в малом опытовом бассейне с измененной конструкцией
Малый опытовый бассейн заполняется водой до метки, обозначенной на уровнемере, которая соответствует стандарту длины дейдвуда ПЛМ. Подвижную стрелу подводят к внешнему транцу (месту отстоя ПЛМ), производят обхват ПЛМ стропой через технологическое пространство между дейдвудом и транцевым кронштейном со струбцинами. Стропу вывешивают на крюк чалочного типа, находящийся на металлическом стальном оцинкованном тросе. Вращая ручку лебедки, поднимаем ПЛМ до блока стрелы. Подводим поворотную стрелу с вывешенным на ней ПЛМ к подвижному транцу, расположенному на МОБ, и опускаем ПЛМ на него. Подвесной лодочный мотор устанавливается на транец и закрепляется струбцинами. На маховик мотора приклеиваем светоотражающую отметку для определения частоты вращения коленчатого вала двигателя лазерным тахометром. На углообразную штангу устанавливается микрофон шумомера и фиксируется металлической прищепкой. Перед запуском ПЛМ приводят в действие вытяжную вентиляцию для удаления отработанных газов и приточную вентиляцию. Подводят
и подключают топливный патрубок к ПЛМ. При работе двигателя температура, генерируемая нагревом редуктора и поступающих отработанных газов в воду, регистрируется с поверхностей МОБ пирометром, а температура воды в МОБ отслеживается согласно показаниям цифровых термометров. При работе ПЛМ образуется упор винта, обусловливающего движение подвижного транца, который создает давление на тензометрический датчик, весовой датчик отслеживает изменения массы топлива. Все предварительно обработанные логистическими контроллерами данные с датчика тахометра, весового датчика и датчика упора винта сводятся к персональному компьютеру для обработки в программе «ТестМотор» (см. свидетельство о государственной регистрации программы для ЭВМ № 20186185338). В процессе эксперимента на запланированных временных отрезках из водоотводящего стока берется проба воды на лабораторный анализ по уровню сбросов; замер уровня звука производится шумомером, установленным на углообразной штанге с контролируемым углом поворота согласно транспортиру. Наблюдение за барботажем и вращением гребного винта ПЛМ производится визуально через окно в форме полусферы. По окончании работы ПЛМ румпелем выворачиваем в любую из сторон до упора и отодвигаем подвижный транец вместе с ПЛМ к задней стенке МОБ, тем самым освобождая место для забора нефтяной пленки с поверхности воды и забора проб в емкости. Далее, пока мотор не остыл, его возвращают на внешний транец, производят пуск, контактным термометром измеряется температура выхлопных газов, выходящих из дейдвуда ПЛМ. При проведении замера температуры выхлопных газов сухим способом существует вероятность перегрева двигателя и заклинивания крыльчатки водяного насоса охлаждения из-за отсутствия водной смазки, поэтому пуск мотора «на сухую» следует производить на короткое время (1–2 мин), а для исключения заклинивания крыльчатки следует производить пуск только после наработки в воде.
Выводы
- Изменение конструкции МОБ путем установки обводной трубы позволило проводить эксперименты с ПЛМ мощностью выше 10 кВт, винт ПЛМ вращается не в хаотично созданных потоках, а в уходящем и набегающем потоке, т. е. модулируется движение маломерного судна, как на открытой воде. Колебания величины упора гребного винта и частоты вращения снизились, и ПЛМ смог набрать заявленную технической документацией мощность – 27 л.с.
- Изменение конструкции подвижного транца позволило при сборе экологических показателей воды в МОБ не прибегать к его разборке и съему, т. к. появилась возможность сдвигания его за пределы МОБ.
- Подъемная стрела позволила в ускоренном режиме проводить в течение эксперимента многократную установку и съем ПЛМ Yanmar D27 весом более 100 кг.
Установка внешнего транца позволила производить замену моторного и трансмиссионного масла, замену винта ПЛМ, проводить измерение температуры выхлопных газов вне МОБ. Также внешний транец необходим для отстоя ПЛМ. Установка пайола на обводную трубу позволила получить доступ к лебедке и весовому датчику
с топливной емкостью.
1. Pat. 182049 Ros. Federaciya. Malyy opytovyy basseyn / Hmel'nickiy K. E., Pokusaev M. N., Hmel'nickaya A. A. № 2017140540; zayavl. 21.11.2017; opubl. 01.08.2018.
2. Pokusaev M. N., Hmel'nickaya A. A., Hmel'nickiy K. E., Gorbachev M. M., Il'ina E. G. Analiz vrednyh vybrosov v gidrosferu ot dizel'nogo podvesnogo lodochnogo motora Yanmar D27 // Vestn. Astrahan. gos. tehn. un-ta. Ser.: Morskaya tehnika i tehnologiya. 2022. № 3. S. 34-39.
3. O bezopasnosti malomernyh sudov: tehnicheskiy reglament tamozhennogo soyuza TR TS 026/2012. URL: https://docs.cntd.ru/document/902352820 (data obrascheniya: 04.05.2022).
4. GOST 28556-2016. Motory lodochnye podvesnye. Obschie trebovaniya bezopasnosti. M.: Standartinform, 2016. 7 s.
5. Instrukciya po ekspluatacii podvesnogo lodochnogo motora Yanmar D27. URL: https://translated.turbopages.org/proxy_u/en-ru.ru.93acbbc6-632c2336-24eb7959-74722d776562/https/www.manualslib.com/manual/999102/Yanmar-D27.html (data obrascheniya: 06.05.2022).
6. Motory lodochnye. Programma i metodika izmereniya ob'emnyh doley oksida ugleroda (SO) i summy uglevodorodov (SN) v otrabotavshih gazah motorov lodochnyh pri provedenii tehnicheskogo osvidetel'stvovaniya. 770020000 PM 28. M.: GIMS, 2001. 8 s.
7. GOST R 52517-2005. Dvigateli vnutrennego sgoraniya porshnevye. Harakteristiki. Chast' 1. Standartnye ishodnye usloviya, ob'yavlenie moschnosti, rashoda topliva i smazochnogo masla. Metody ispytaniy. URL: https://docs.cntd.ru/document/1200043283 (data obrascheniya: 05.05.2022).
8. GOST 305-2013. Toplivo dizel'noe. Tehnicheskie usloviya. URL: https://docs.cntd.ru/document/1200107826 (data obrascheniya: 06.05.2022).



